授权公布号:CN213654734U
一种侧向防火卷帘限位控制器
有效
申请
2020-08-17
申请公布
1970-01-01
授权
2021-07-09
预估到期
2030-08-17
| 申请号 | CN202021707435.7 |
| 申请日 | 2020-08-17 |
| 授权公布号 | CN213654734U |
| 授权公告日 | 2021-07-09 |
| 分类号 | E06B9/82 |
| 分类 | 一般门、窗、百叶窗或卷辊遮帘;梯子; |
| 申请人名称 | 郑州光大百纳科技股份有限公司 |
| 申请人地址 | 河南省郑州市高新技术开发区合欢西街5号 |
专利法律状态
2021-07-09
授权
状态信息
授权
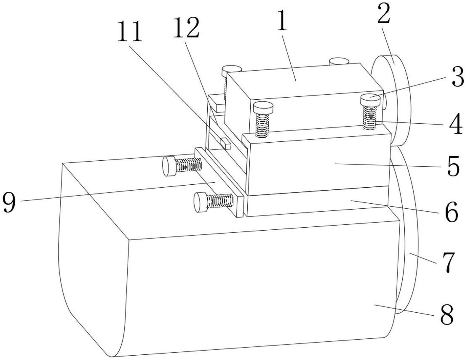
摘要
本实用新型公开了一种侧向防火卷帘限位控制器,涉及侧向防火卷帘技术领域,包括限位器主体和电机变速机构,第二滑块的外表面套接有连接板,连接块的上侧螺纹连接有螺杆,螺杆的外表面套接有压缩弹簧,滑动板的内部转动连接有拉块,第一滑块的内部开设有与卡块相适配的圆形卡槽。本实用新型通过设置转动把手螺杆、压缩弹簧和拉块,方便控制限位齿轮和电机变速机构齿轮的啮合连接,避免出现限位器与电机变速机构接合出现太紧或太松的啮合不良现象,通过设置连接轴、卡块、通槽和圆形卡槽,可将限位器主体固定,通过转杆转动连接轴,可以将卡块从通槽内滑出,把限位器主体拆下,操作方便快捷,结构简单合理。


