授权公布号:CN213654664U
一种智能防火门监控器
有效
申请
2020-08-17
申请公布
1970-01-01
授权
2021-07-09
预估到期
2030-08-17
| 申请号 | CN202021707440.8 |
| 申请日 | 2020-08-17 |
| 授权公布号 | CN213654664U |
| 授权公告日 | 2021-07-09 |
| 分类号 | E06B5/16;G05B19/042;G08B21/02 |
| 分类 | 一般门、窗、百叶窗或卷辊遮帘;梯子; |
| 申请人名称 | 郑州光大百纳科技股份有限公司 |
| 申请人地址 | 河南省郑州市高新技术开发区合欢西街5号 |
专利法律状态
2021-07-09
授权
状态信息
授权
摘要
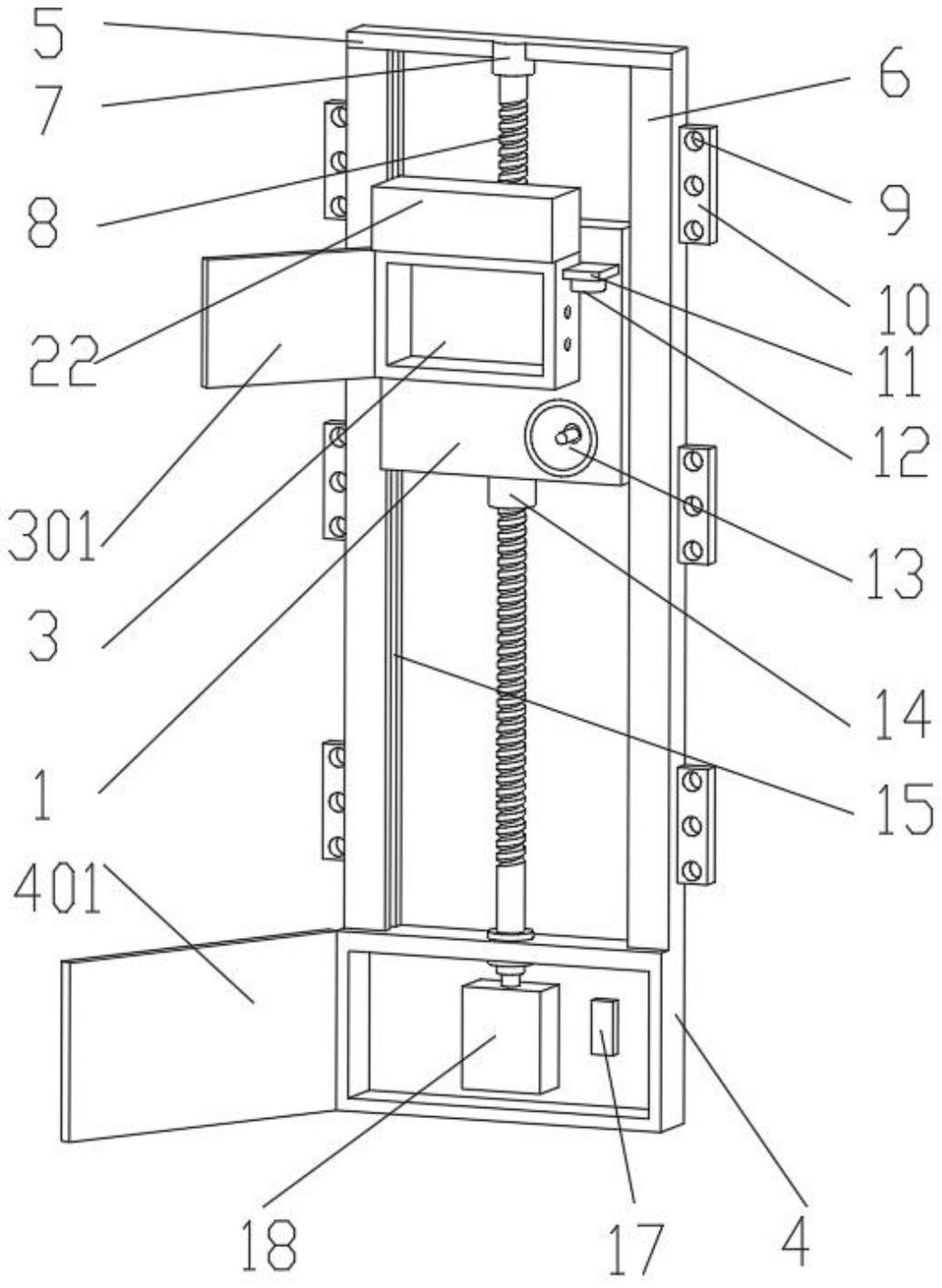
本实用新型公开了一种智能防火门监控器,涉及防火门技术领域,具体为一种智能防火门监控器,包括区域分机底座和控制箱,所述区域分机底座的背面固定连接有内螺纹管,所述内螺纹管的内部螺纹连接有螺纹柱,所述螺纹柱的上部转动连接有连接块,所述连接块的侧面固定连接有连接板,所述连接板的一侧固定连接有滑轨,所述滑轨的侧面开设有滑槽,所述螺纹柱的下端通过轴承固定连接有机箱,所述机箱的内部固定安装有电机。该智能防火门监控器,通过滑轨的设置,使该智能防火门监控器具备了便于检修维护的效果,通过内螺纹管和螺纹柱的配合设置,在使用的过程中可以使区域分机底座上下升降,达到了便于维护检修的目的。


