授权公布号:CN104200578B
一种游艺机
有效
申请
2014-08-15
申请公布
2014-12-10
授权
2017-03-29
预估到期
2034-08-15
| 申请号 | CN201410403540.4 |
| 申请日 | 2014-08-15 |
| 申请公布号 | CN104200578A |
| 申请公布日 | 2014-12-10 |
| 授权公布号 | CN104200578B |
| 授权公告日 | 2017-03-29 |
| 分类号 | G07F17/38 |
| 分类 | 核算装置; |
| 申请人名称 | 中山市光阳游乐科技股份有限公司 |
| 申请人地址 | 广东省中山市石岐区海景工业区2号捷源大厦二楼 |
专利法律状态
2021-12-24
专利权质押合同登记的生效、变更及注销
状态信息
专利权质押合同登记的注销;IPC(主分类):G07F17/38;授权公告日:20170329;申请日:20140815;登记号:Y2019980000065;出质人:中山市光阳游乐科技股份有限公司;质权人:中山农村商业银行股份有限公司火炬开发区科技支行;解除日:20211209
2019-09-17
专利权质押合同登记的生效、变更及注销
状态信息
专利权质押合同登记的生效;IPC(主分类):G07F17/38;登记号:Y2019980000065;登记生效日:20190826;出质人:中山市光阳游乐科技股份有限公司;质权人:中山农村商业银行股份有限公司火炬开发区科技支行;发明名称:一种游艺机;申请日:20140815;授权公告日:20170329
2019-01-01
专利权质押合同登记的生效、变更及注销
状态信息
专利权质押合同登记的注销;IPC(主分类):G07F17/38;授权公告日:20170329;申请日:20140815;登记号:2017440020035;出质人:中山市光阳游乐科技股份有限公司;质权人:中国光大银行股份有限公司中山分行;解除日:20181210
2017-10-31
专利权质押合同登记的生效、变更及注销
状态信息
专利权质押合同登记的生效;IPC(主分类):G07F17/38;登记号:2017440020035;登记生效日:20170927;出质人:中山市光阳游乐科技股份有限公司;质权人:中国光大银行股份有限公司中山分行;发明名称:一种游艺机;申请日:20140815;授权公告日:20170329
2017-08-08
专利权人的姓名或者名称、地址的变更
状态信息
专利权人的姓名或者名称、地址的变更;IPC(主分类):G07F17/38;变更事项:专利权人;变更前:中山市光阳游乐设备有限公司;变更后:中山市光阳游乐科技股份有限公司;变更事项:地址;变更前:528400 广东省中山市石岐区海景工业区2号捷源大厦二楼;变更后:528400 广东省中山市石岐区海景工业区2号捷源大厦二楼
2017-03-29
授权
状态信息
授权
2015-01-07
实质审查的生效
状态信息
实质审查的生效;IPC(主分类):G07F17/38;申请日:20140815
2014-12-10
公布
状态信息
公布
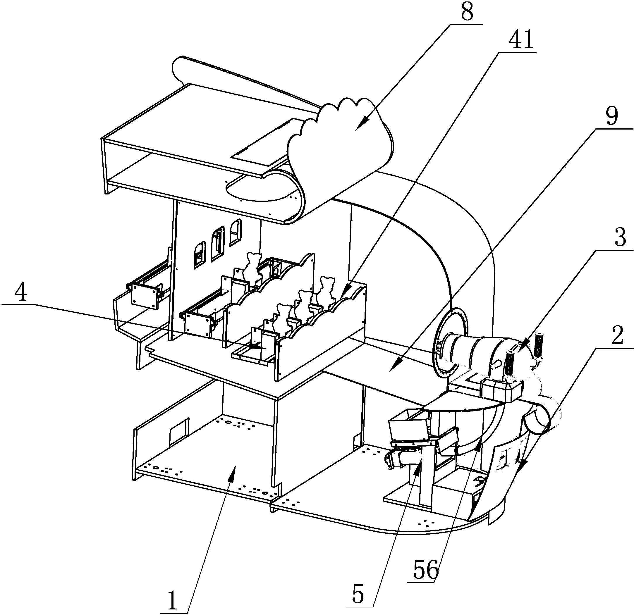
摘要
一种游艺机,包括:支架和设在支架上设有投币装置,在支架上还设有枪组件,在支架上、枪组件的前方设有射击目标物的移动公仔组件,在支架上还设有可计打中移动公仔组件次数的计数机构,在支架内设有可回收枪组件射出去球的回收机构。本发明解决了传统射击游艺机的回收球麻烦的问题,实现对游艺机的球的自动回收,并可将回收后可以循环继续使用,其使用简单、方便快捷且趣味性强。节省了人工来捡球,节省了成本,有利于市场竞争。


