授权公布号:CN206815970U
一种多功能隔离护栏
失效
申请
2017-06-05
申请公布
1970-01-01
授权
2017-12-29
预估到期
2027-06-05
| 申请号 | CN201720647270.0 |
| 申请日 | 2017-06-05 |
| 授权公布号 | CN206815970U |
| 授权公告日 | 2017-12-29 |
| 分类号 | E04H17/14;A01G25/02 |
| 分类 | 建筑物; |
| 申请人名称 | 常州美城交通设施有限公司 |
| 申请人地址 | 江苏省常州市新北区薛家镇吕墅东路58-68号 |
专利法律状态
2023-06-16
专利权的终止
状态信息
未缴年费专利权终止;IPC(主分类):E04H17/14;申请日:20170605;授权公告日:20171229
2017-12-29
授权
状态信息
授权
摘要
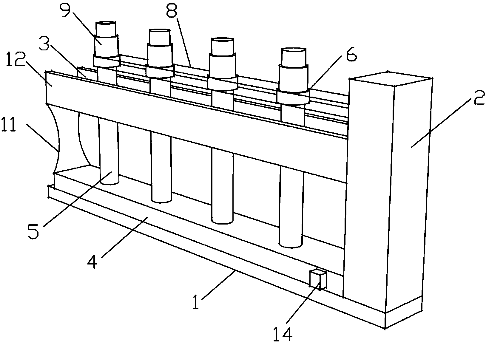
本实用新型公开了一种多功能隔离护栏,涉及护栏技术领域,包括底座、设置在底座两侧的支撑杆以及与所述支撑杆连接的绿化层,所述底座上设置有供水箱,所述供水箱上设有若干护栏,所述护栏与所述供水箱连通并穿过所述绿化层,所述护栏上设有轴套,所述支撑杆内设有电机,所述电机通过皮带与所述轴套连接,所述轴套上设有喷水管,所述喷水管与所述护栏连通,所述喷水管上设有若干喷水孔。本实用新型通过在护栏上设置绿化层以及喷水装置,既达到美观的效果,还可以对绿化层内的植物浇水,也可以调节水的水压,对路面进行洒水。


