授权公布号:CN212891065U
一种奶茶包装装置
有效
申请
2020-06-03
申请公布
1970-01-01
授权
2021-04-06
预估到期
2030-06-03
| 申请号 | CN202020994084.6 |
| 申请日 | 2020-06-03 |
| 授权公布号 | CN212891065U |
| 授权公告日 | 2021-04-06 |
| 分类号 | B65B7/16;B65B51/14 |
| 分类 | 输送;包装;贮存;搬运薄的或细丝状材料; |
| 申请人名称 | 浙江大好大食品有限公司 |
| 申请人地址 | 浙江省温州市瓯海郭溪街道梅屿工业区 |
专利法律状态
2021-04-06
授权
状态信息
授权
摘要
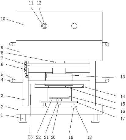
本实用新型公开了一种奶茶包装装置,包括底座,所述底座的上表面固定连接有防护板,所述防护板的内侧设置有滑槽,所述滑槽的左面滑动连接有移动箱体,所述移动箱体的下表面固定连接有升降装置,所述升降装置的下表面固定连接有压板,所述底座上设置有滑块,所述滑块的上表面固定连接有移动板,所述支撑板的上表面固定连接有平台,所述平台的中部贯穿有通孔,所述支撑台的下表面设置有固定座,所述支撑台的上表面设置有弹性装置,所述弹性装置的上表面固定连接有垫板。本实用新型中,实现全自动包装技术,不需要一步步的操作,加快了奶茶包装,防止因包装封口太慢,使顾客等待时间长而产生不悦,因此对奶茶店的使用十分有益。


