授权公布号:CN204358107U
一种用于轴承箱的三级防漏油装置
有效
申请
2014-12-30
申请公布
1970-01-01
授权
2015-05-27
预估到期
2024-12-30
| 申请号 | CN201420854983.0 |
| 申请日 | 2014-12-30 |
| 授权公布号 | CN204358107U |
| 授权公告日 | 2015-05-27 |
| 分类号 | F16J15/447;F16J15/16 |
| 分类 | 工程元件或部件;为产生和保持机器或设备的有效运行的一般措施;一般绝热; |
| 申请人名称 | 山东临风科技股份有限公司 |
| 申请人地址 | 山东省临沂市经济技术开发区杭州路25号 |
专利法律状态
2015-05-27
授权
状态信息
授权
摘要
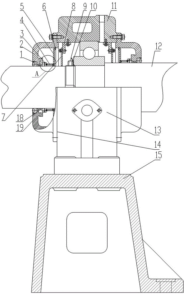
一种用于轴承箱的三级防漏油装置,它包括与底座连接的轴承座;轴承座的两侧和顶部设有侧盖和顶盖;顶盖的底部两侧处设有固定座;固定座与挡油板固定连接,且挡油板的底端与主轴相互间隙贴合;侧盖与轴承座贴合处的内径上设有限位挡圈;限位挡圈的内侧活动卡接弹簧固定板;弹簧固定板套接在主轴上,并通过其另一侧设有的弹簧与碳环的一侧弹性连接;碳环的另一侧与侧盖相互贴合且碳环套接在主轴上;侧盖与主轴贴合处的内外侧分别设有迷宫油封和氟橡胶油封,且侧盖底部与主轴贴合处的迷宫油封下方设有回油槽。本实用新型中的三级防护解决了现有技术存在结构复杂、密封效果差和检修费时费力的技术问题。


