授权公布号:CN208975890U
一种具有自动加料功能的三辊研磨机
有效
申请
2018-07-10
申请公布
1970-01-01
授权
2019-06-14
预估到期
2028-07-10
| 申请号 | CN201821090482.4 |
| 申请日 | 2018-07-10 |
| 授权公布号 | CN208975890U |
| 授权公告日 | 2019-06-14 |
| 分类号 | B02C4/04;B02C23/02 |
| 分类 | 破碎、磨粉或粉碎;谷物碾磨的预处理; |
| 申请人名称 | 惠州德斯坤实业有限公司 |
| 申请人地址 | 广东省惠州市惠城区小金口九龙村工业区广仍路东210号 |
专利法律状态
2019-06-14
授权
状态信息
授权
摘要
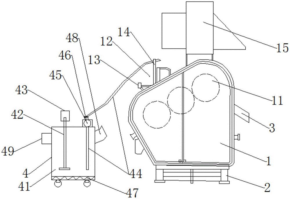
本实用新型公开了一种具有自动加料功能的三辊研磨机,所述研磨机包括机架,设置于机架下方的支撑脚,设置于机架上方的排气装置,设置于机架上的出料斗,设置于机架内部用于研磨的辊轴,还包括一自动加料装置,所述加料装置包括加料桶,设置于加料桶内部的搅拌装置,所述搅拌装置与电机连接,所述加料桶内还设置有出料管,所述出料管上连接的压力泵,所述出料管还与设置于研磨机上的出料管架连接固定,所述出料管架包括一横向的挡板、一竖向的出料管支撑架。本实用新型通过设置自动加料装置,使得整个研磨过程省时省力同时也节省了成本。


