授权公布号:CN206253089U
青储饲料揉压搅拌机
有效
申请
2016-08-06
申请公布
1970-01-01
授权
2017-06-16
预估到期
2026-08-06
| 申请号 | CN201620845629.0 |
| 申请日 | 2016-08-06 |
| 授权公布号 | CN206253089U |
| 授权公告日 | 2017-06-16 |
| 分类号 | B01F13/02;B01F13/10;A23N17/00 |
| 分类 | 一般的物理或化学的方法或装置; |
| 申请人名称 | 双柏县鄂嘉镇哀牢山生态畜牧养殖发展有限公司 |
| 申请人地址 | 云南省楚雄彝族自治州双柏县鄂嘉镇密架村委会密架街 |
专利法律状态
2017-06-16
授权
状态信息
授权
摘要
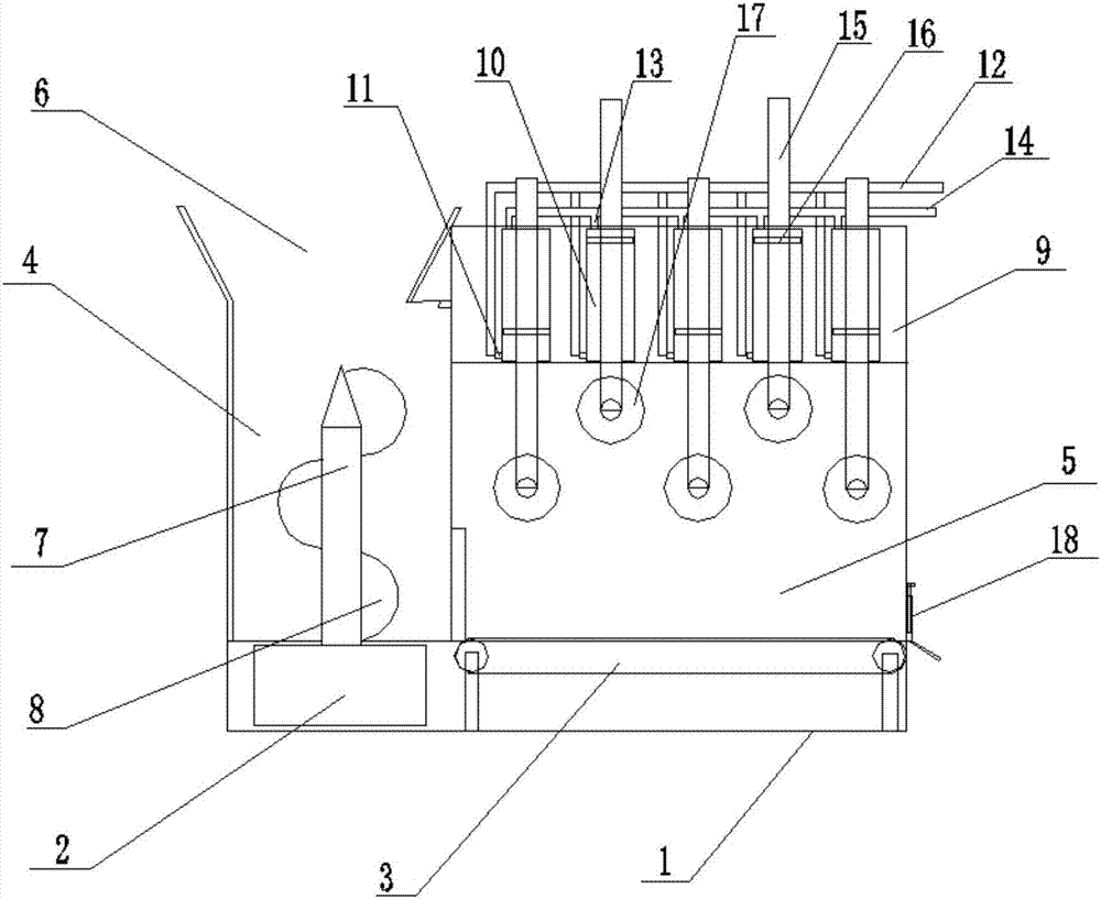
本实用新型公开了青储饲料揉压搅拌机,包括底座、电机、传送带、搅拌室、揉压室、搅拌杆、搅拌翅、气缸固定台、气缸、出气嘴、出气管、进气嘴、进气管、升降杆、活塞、升降滚筒和成品出口,其特征在于:所述底座内设有电机,所述电机右侧设有传送带,所述底座上侧设有搅拌室和揉压室,所述搅拌室上侧设有进料斗,所述搅拌室内设有搅拌杆,且搅拌杆下侧与电机连接,所述搅拌杆上设有搅拌翅,所述揉压室内部上侧设有气缸固定台,所述气缸固定台内设有气缸,且气缸左侧设有出气嘴,所述出气嘴上设有出气管,所述气缸上侧设有进气嘴,且进气嘴上设有进气管,所述气缸内部设有升降杆,且升降杆上设有活塞,所述升降杆下侧设有升降滚筒。


