授权公布号:CN214530327U
一种道路交通隔离栅安全安装设备
有效
申请
2020-12-14
申请公布
1970-01-01
授权
2021-10-29
预估到期
2030-12-14
| 申请号 | CN202023023638.7 |
| 申请日 | 2020-12-14 |
| 授权公布号 | CN214530327U |
| 授权公告日 | 2021-10-29 |
| 分类号 | E01F9/669 |
| 分类 | 道路、铁路或桥梁的建筑; |
| 申请人名称 | 浙江路通交通安全设施有限公司 |
| 申请人地址 | 浙江省金华市婺城区汤溪工业区 |
专利法律状态
2021-10-29
授权
状态信息
授权
摘要
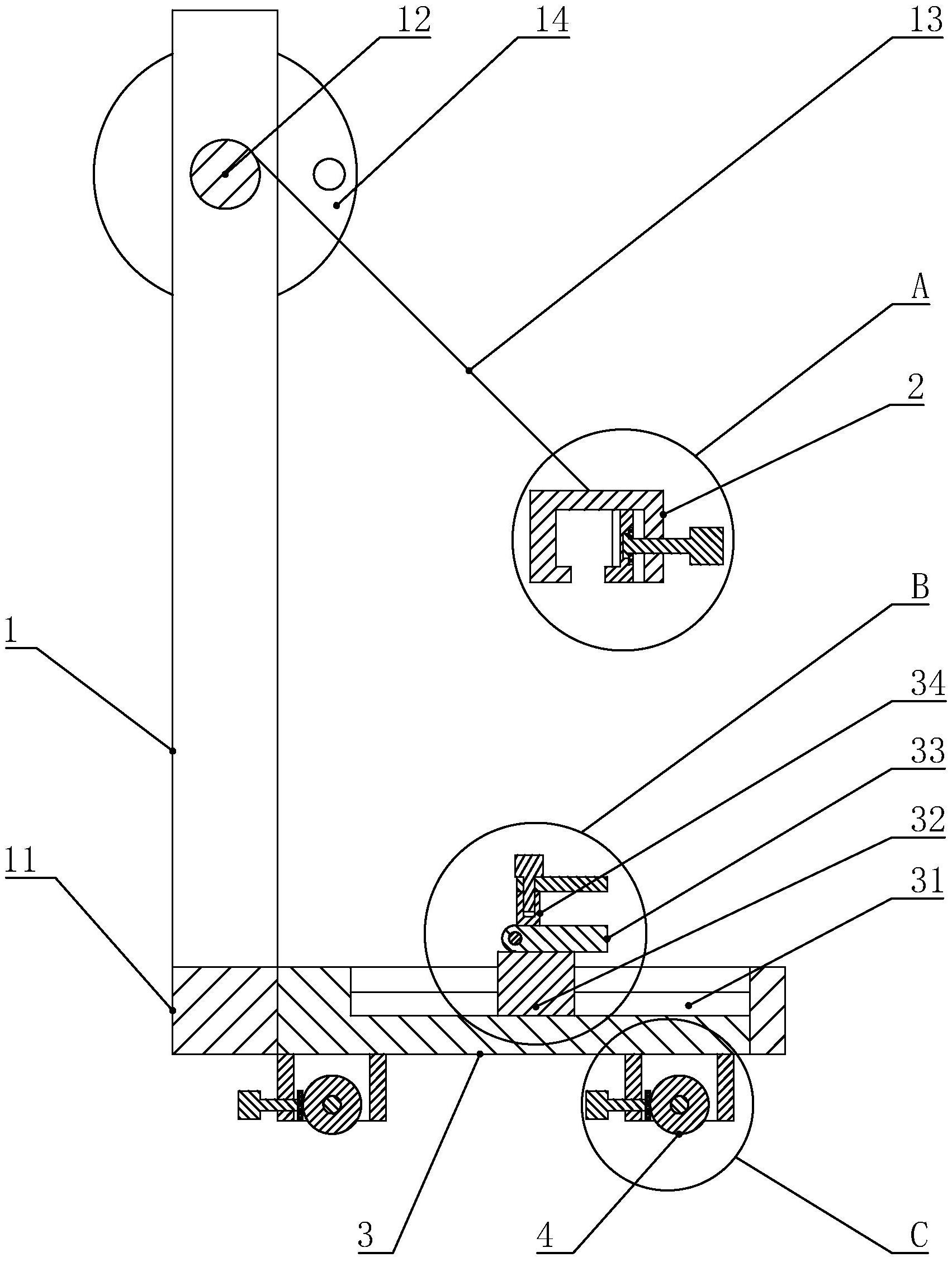
本实用新型公开了一种道路交通隔离栅安全安装设备,其技术方案要点是包括有卡块,卡块滑移设置在导向槽内,并设置有用于固定隔离栅边框的卡槽。本实用新型具有以下有益效果:安装人员将隔离栅边框插入连接槽内,并转动紧固杆,使得连接座与隔离栅固定连接,再转动转轴卷绕连接绳,将隔离栅的一端抬高,从而将隔离栅竖直地立起来,以减轻安装人员的负担,降低安装难度,并且通过机械辅助,确保隔离栅能够稳定地竖直安装,不易倾倒,提高安装的安全性。


