授权公布号:CN214363123U
一种废弃护栏回收装置
有效
申请
2020-12-14
申请公布
1970-01-01
授权
2021-10-08
预估到期
2030-12-14
| 申请号 | CN202023003574.4 |
| 申请日 | 2020-12-14 |
| 授权公布号 | CN214363123U |
| 授权公告日 | 2021-10-08 |
| 分类号 | E01F15/02 |
| 分类 | 道路、铁路或桥梁的建筑; |
| 申请人名称 | 浙江路通交通安全设施有限公司 |
| 申请人地址 | 浙江省金华市婺城区汤溪工业区 |
专利法律状态
2021-10-08
授权
状态信息
授权
摘要
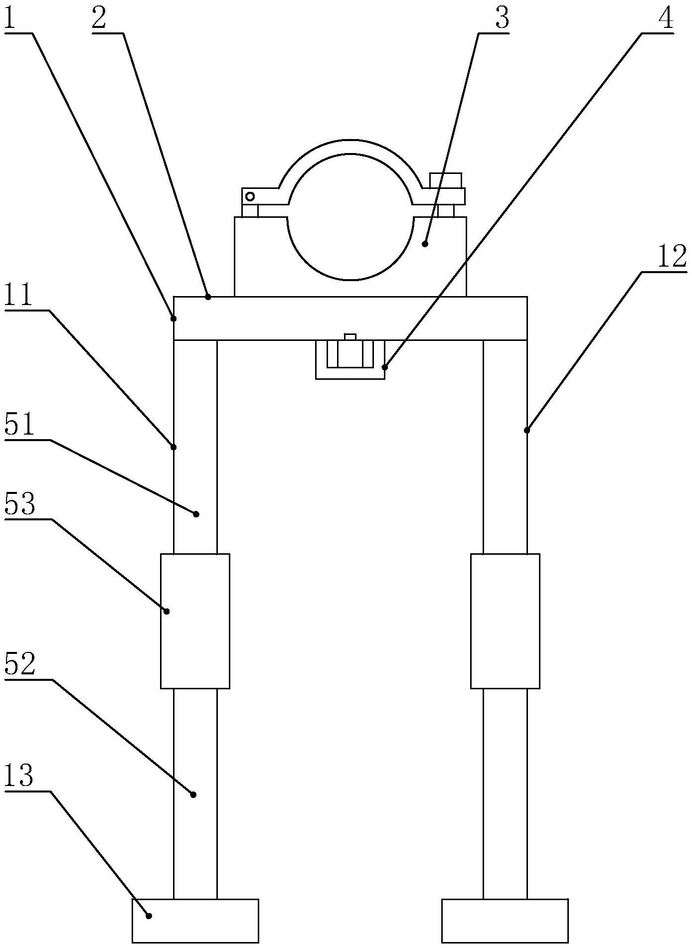
本实用新型公开了一种废弃护栏回收装置,其技术方案要点是包括有用于与护栏主杆连接的放置座,第一支撑杆和第二支撑杆均包括有第一杆体和第二杆体,第一杆体上固定连接有限位套,限位套套设在第二杆体上,并与第二杆体滑动连接。本实用新型具有以下有益效果:在拆卸时,护栏偶尔有上下移动,由于限位套与第二杆体滑动连接,使得护栏能够上下移动,而不被损坏,也不影响操作者拆卸护栏。


