授权公布号:CN210834556U
一种粉状物料密度测量装置
有效
申请
2019-09-27
申请公布
1970-01-01
授权
2020-06-23
预估到期
2029-09-27
| 申请号 | CN201921628786.6 |
| 申请日 | 2019-09-27 |
| 授权公布号 | CN210834556U |
| 授权公告日 | 2020-06-23 |
| 分类号 | G01N9/02 |
| 分类 | 测量;测试; |
| 申请人名称 | 湖北赤壁赛飞摩擦材料有限公司 |
| 申请人地址 | 湖北省咸宁市赤壁市经济开发区发展大道 |
专利法律状态
2020-06-23
授权
状态信息
授权
摘要
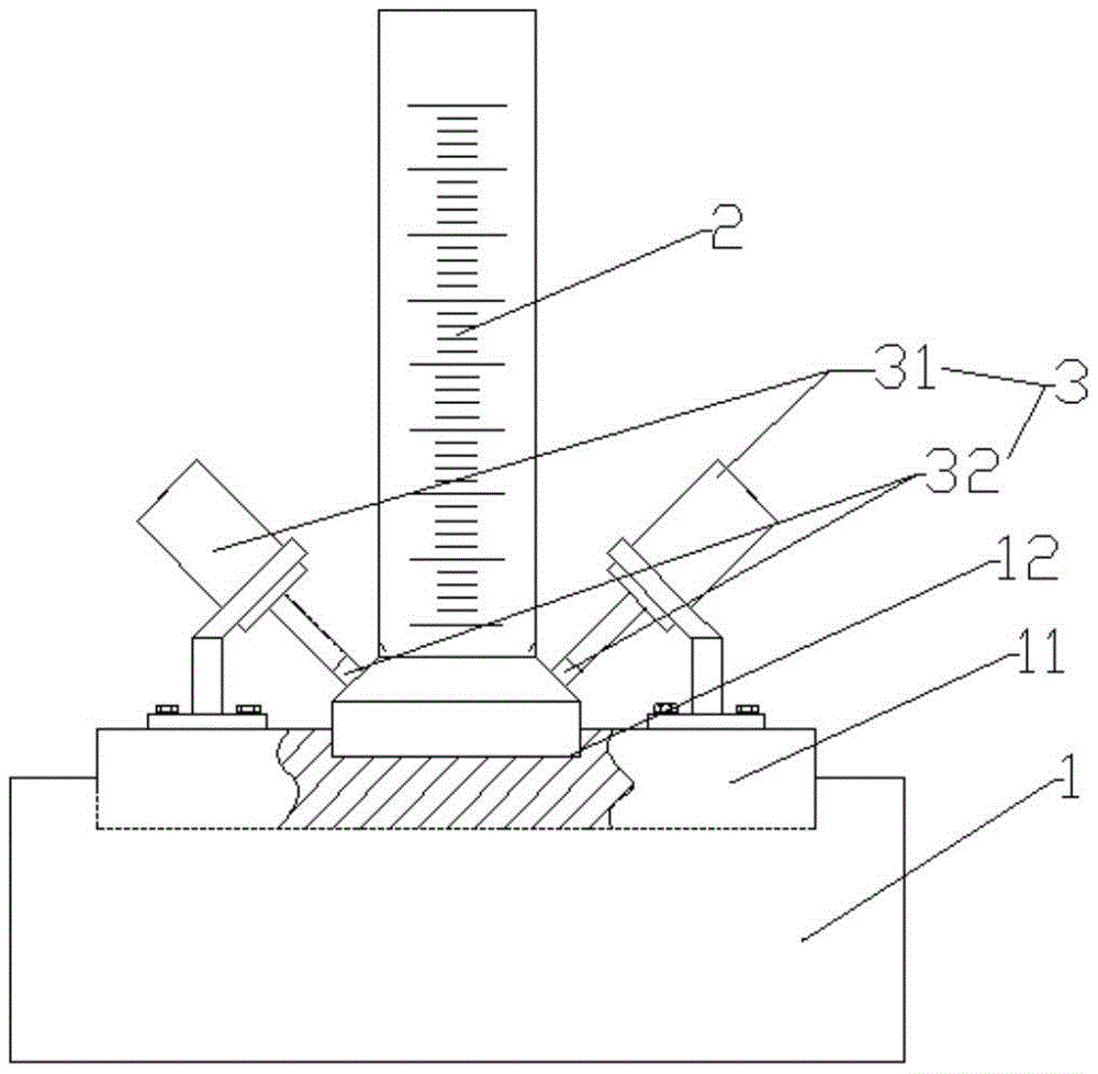
本实用新型公开了一种粉状物料密度测量装置,包括振动机构、量筒和固定件,所述固定件安装在所述振动机构的振动端上,其用以将所述量筒竖向可拆卸的安装在所述振动机构的振动端上,所述量筒用以装入粉状物料并测量所述粉状物料振实后的体积。由固定件将量筒竖直固定在振动机构的振动端上,而量筒内装入有质量为m的粉状物料,而经振动上通过读取量筒内粉状物料的体积为v,即可得到粉状物料振实后的密度ρ=m/v。


