授权公布号:CN210708505U
一种蔬菜运输装置
有效
申请
2019-10-25
申请公布
1970-01-01
授权
2020-06-09
预估到期
2029-10-25
| 申请号 | CN201921816322.8 |
| 申请日 | 2019-10-25 |
| 授权公布号 | CN210708505U |
| 授权公告日 | 2020-06-09 |
| 分类号 | B65D25/02 |
| 分类 | 输送;包装;贮存;搬运薄的或细丝状材料; |
| 申请人名称 | 康来福农产品集团有限公司 |
| 申请人地址 | 广东省广州市白云区均禾街石马村石马桃红二街3号整栋(自主申报) |
专利法律状态
2020-06-09
授权
状态信息
授权
摘要
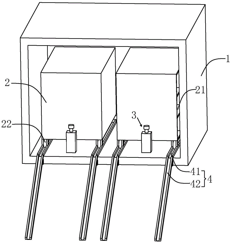
本实用新型涉及一种蔬菜运输装置,包括箱式货车的运输箱、设置于所述运输箱内的放置架、以及设置于所述放置架的限位组件;所述限位组件包括设置于所述放置架的固定座、与所述固定座沿垂直于所述运输箱的底壁的方向滑动连接的滑动杆、以及设置于所述滑动杆靠近所述运输箱底壁的一端的限位块;所述运输箱的底壁开设有限位槽,所述限位块与所述限位槽相适配。本实用新型通过对放置架进行限位,以降低蔬菜从放置架上掉落的可能性。


