授权公布号:CN210791191U
一种自动切菜机的收料装置
有效
申请
2019-10-21
申请公布
1970-01-01
授权
2020-06-19
预估到期
2029-10-21
| 申请号 | CN201921779980.4 |
| 申请日 | 2019-10-21 |
| 授权公布号 | CN210791191U |
| 授权公告日 | 2020-06-19 |
| 分类号 | B26D7/00;B26D7/32 |
| 分类 | 手动切割工具;切割;切断; |
| 申请人名称 | 康来福农产品集团有限公司 |
| 申请人地址 | 广东省广州市白云区均禾街石马村石马桃红二街3号整栋(自主申报) |
专利法律状态
2020-06-19
授权
状态信息
授权
摘要
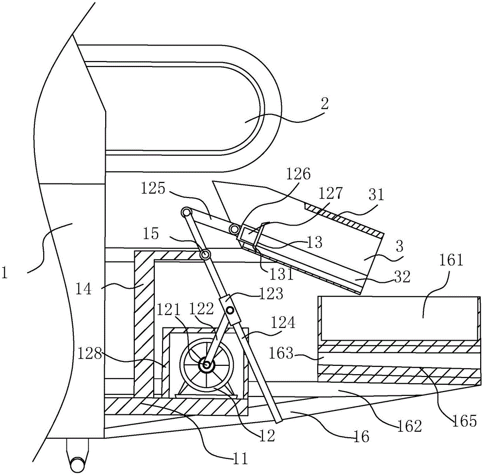
本实用新型涉及一种自动切菜机的收料装置,属于蔬菜切割设备技术领域,包括:切菜机机体;设置在所述切菜机机体上的传送带;以及设置在所述传送带输出端的收料组件,其中,所述出收料组件包括:设置在所述切菜机机体侧部、位于所述传送带出料端的出料槽;设置在所述出料槽上的挡料板;设置在所述出料槽靠近所述出料口一端上的扫料件;以及可拆卸式安装在所述切菜机机体侧部、且位于所述出料槽出料端的收集件。本实用新型的目的在于提供一种自动切菜机的收料装置,能够使食材准确落在收集装置中,同时能够扫落收料槽上粘附的蔬菜。


