授权公布号:CN210663528U
一种果蔬的保鲜装置
有效
申请
2019-10-25
申请公布
1970-01-01
授权
2020-06-02
预估到期
2029-10-25
| 申请号 | CN201921825298.4 |
| 申请日 | 2019-10-25 |
| 授权公布号 | CN210663528U |
| 授权公告日 | 2020-06-02 |
| 分类号 | F25D11/00 |
| 分类 | 制冷或冷却;加热和制冷的联合系统;热泵系统;冰的制造或储存;气体的液化或固化; |
| 申请人名称 | 康来福农产品集团有限公司 |
| 申请人地址 | 广东省广州市白云区均禾街石马村石马桃红二街3号整栋(自主申报) |
专利法律状态
2020-06-02
授权
状态信息
授权
摘要
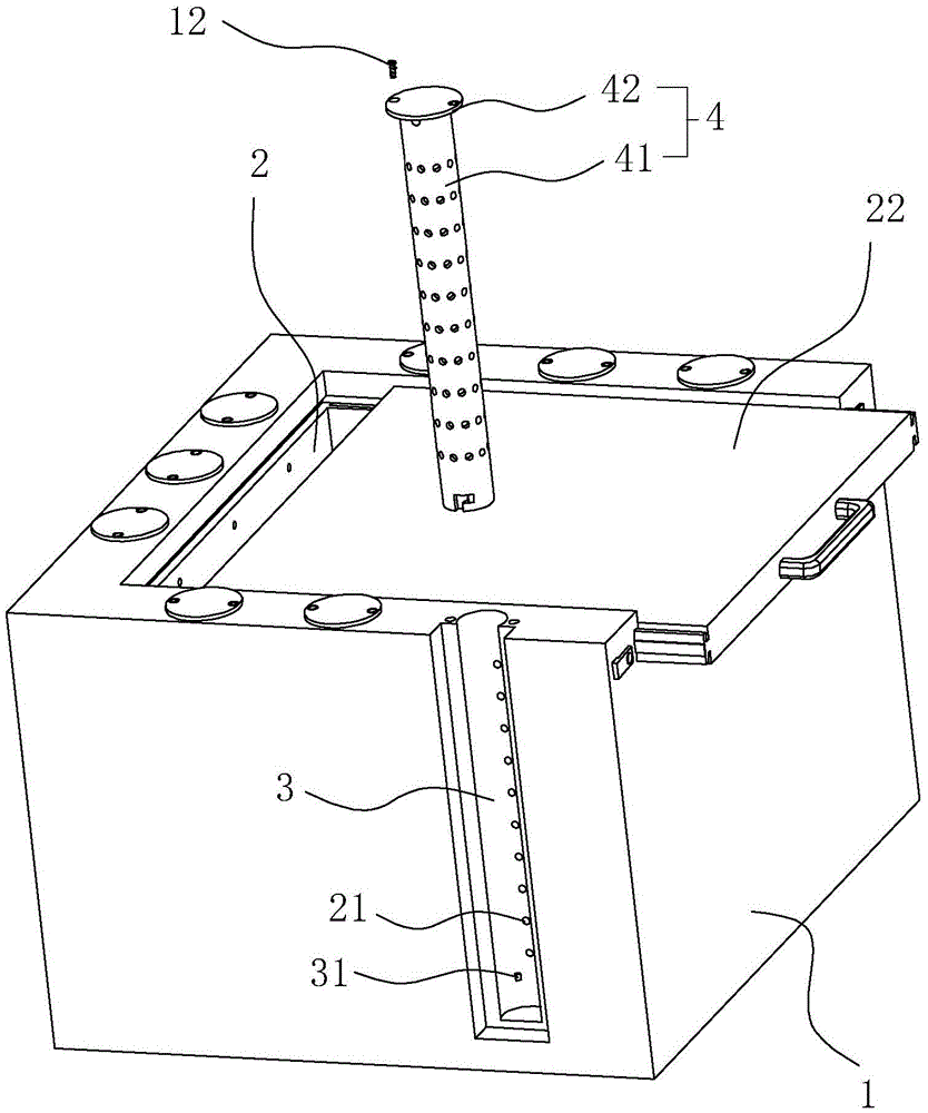
本实用新型涉及一种果蔬的保鲜装置,包括箱体以及设置在箱体内的保鲜床,所述保鲜床的侧壁上设置有透气孔,所述箱体内开设有竖直方向的放置槽,所述放置槽的侧壁与透气孔相连通,所述放置槽内设置有保鲜机构,所述保鲜机构包括由滤网组成的透气筒以及设置在透气筒开口处的端盖,所述透气筒内填充有保鲜剂,所述端盖包括连接块和设置于连接块远离透气筒开口处一侧的端块,所述连接块内设置有将连接块固定在透气筒开口处的固定组件,所述端块上沿圆周方向均匀开设有若干限位孔,所述箱体的顶部设置有与限位孔位置相对应的固定孔,所述限位孔和固定孔内插设有紧固件。本实用新型具有保鲜剂可更换的效果。


