授权公布号:CN217290839U
一种高稳定性的焊钳弹簧结构
有效
申请
2022-02-10
申请公布
1970-01-01
授权
2022-08-26
预估到期
2032-02-10
| 申请号 | CN202220274469.4 |
| 申请日 | 2022-02-10 |
| 授权公布号 | CN217290839U |
| 授权公告日 | 2022-08-26 |
| 分类号 | B23K9/28;B23K9/32 |
| 分类 | 机床;不包含在其他类目中的金属加工; |
| 申请人名称 | 广州金象实业集团有限公司 |
| 申请人地址 | 广东省广州市荔湾区宝源路126号 |
专利法律状态
2022-08-26
授权
状态信息
授权
摘要
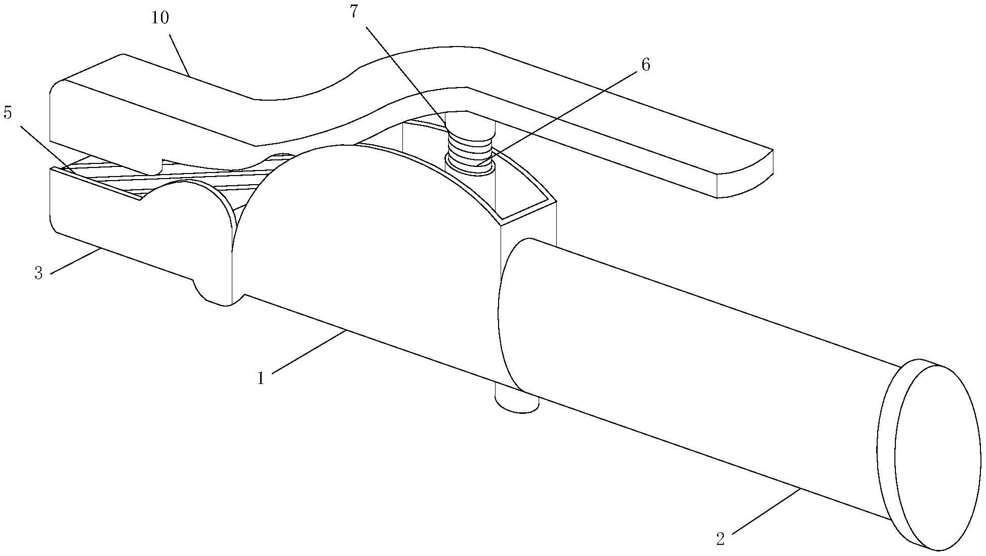
本实用新型公开了一种高稳定性的焊钳弹簧结构,该焊钳弹簧结构旨在解决现有技术下焊钳弹簧结构在进行使用时缺少相应的防护结构,同时也没有设置相应稳固机构的技术问题。该焊钳弹簧结构包括焊钳本体、安装在所述焊钳本体上的焊柄模块、连接于所述焊柄模块用于配合焊柄模块进行连接使用的焊钳头部模块;所述焊钳头部模块内部设置有用于进行导电的导电模块,所述导电模块外侧设置有用于进行安装和固定的压紧模块,所述焊柄模块内部设置有用于进行弹性回复的复位弹簧组件。该焊钳弹簧结构通过压紧模块可以起到固定压紧安装的效果,减小了焊钳本体的体积,省材,而通过防护套筒组件可以防止复位弹簧组件工作失效,提高了焊钳本体的耐用性和稳定性。


