授权公布号:CN218116031U
一种微波辅助粘结型建筑废弃骨料再利用设备
有效
申请
2021-06-28
申请公布
1970-01-01
授权
2022-12-23
预估到期
2031-06-28
| 申请号 | CN202121449713.8 |
| 申请日 | 2021-06-28 |
| 授权公布号 | CN218116031U |
| 授权公告日 | 2022-12-23 |
| 分类号 | E01C19/08;E01C19/10 |
| 分类 | 道路、铁路或桥梁的建筑; |
| 申请人名称 | 陕西省天然气股份有限公司 |
| 申请人地址 | 陕西省西安市经开区A1区开元路2号 |
专利法律状态
2022-12-23
授权
状态信息
授权
摘要
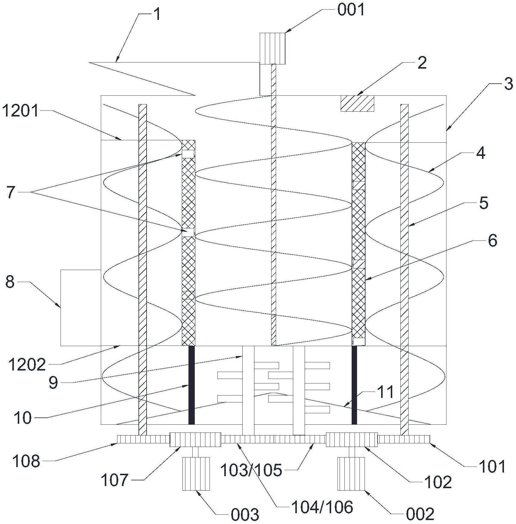
本实用新型公开了一种微波辅助粘结型建筑废弃骨料再利用设备,包括进料口、内筒、外筒和微波控制器。内筒通过若干支柱支撑于外筒的锥形过滤底面上。内筒为内分布有若干微波发生器,设置有螺旋传输面。外筒设置有搅拌破碎坤和小型螺旋传输面,上部设置有抽风口,外部设置有微波控制器。未到达分离破碎标准的物料,无法从锥形过滤底面排出,由外筒的小型的螺旋传输面再次传输进入内筒的微波辐射区,循环往复,直至从锥形过滤底面排出。该设备使用微波选择性加热的特性,利用不同物料间的温度梯度及膨胀性的差异,完成骨料分离,保证骨料的高效高质再回收。实现了资源的最大化利用,流程简单,适用于机械化作业。


