授权公布号:CN218553706U
一种天然气与氢气的混合装置
有效
申请
2022-09-20
申请公布
1970-01-01
授权
2023-03-03
预估到期
2032-09-20
| 申请号 | CN202222487197.9 |
| 申请日 | 2022-09-20 |
| 授权公布号 | CN218553706U |
| 授权公告日 | 2023-03-03 |
| 分类号 | B01F25/00;B01F23/10 |
| 分类 | 一般的物理或化学的方法或装置; |
| 申请人名称 | 陕西省天然气股份有限公司 |
| 申请人地址 | 陕西省西安市经开区A1区 |
专利法律状态
2023-03-03
授权
状态信息
授权
摘要
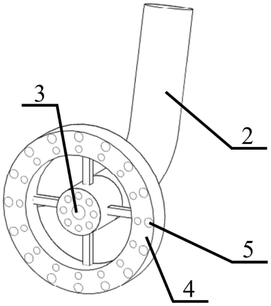
本实用新型公开一种天然气与氢气的混合装置,包括氢气进气管道、旋转马达、空心的环形氢气流道等,氢气进气管道的一端连接旋转马达与环形氢气流道,旋转马达与环形氢气流道紧密固定且对马达作密封处理,空心的环形氢气流道包括联通的两环,内环与外环流道上均设置圆形开孔。本实用新型有益的技术效果是:在氢气流道上设置许多圆形开孔增加氢气进入天然气管道中的路径数,增大了氢气与天然气的接触面积;利用动部件使得氢气进入天然气管道时带有沿管道周向的分速度,更进一步促进了掺混。因此本实用新型能有效提高天然气与氢气的掺混效果,不仅有利于提高混合气体的燃烧效率,还能降低污染物的排放、减少掺氢输送的安全问题。


