授权公布号:CN218378029U
一种防沉降天然气管道支撑装置
有效
申请
2022-10-20
申请公布
1970-01-01
授权
2023-01-24
预估到期
2032-10-20
| 申请号 | CN202222775014.3 |
| 申请日 | 2022-10-20 |
| 授权公布号 | CN218378029U |
| 授权公告日 | 2023-01-24 |
| 分类号 | F16L3/10;F16L3/215 |
| 分类 | 工程元件或部件;为产生和保持机器或设备的有效运行的一般措施;一般绝热; |
| 申请人名称 | 陕西省天然气股份有限公司 |
| 申请人地址 | 陕西省西安市经开区A1区开元路2号 |
专利法律状态
2023-01-24
授权
状态信息
授权
摘要
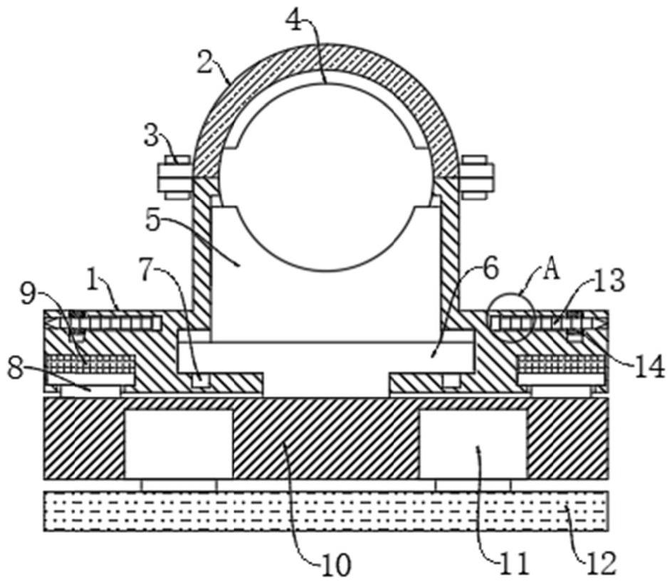
本实用新型公开了一种防沉降天然气管道支撑装置,本实用新型涉及管道施工技术领域。该防沉降天然气管道支撑装置,通过安装连接座、电动伸缩杆和底板等,当底板出现下沉之后,管道底部受到抵板的压力会变小,同时由于弹性环的弹性,使限位筒带动连接座往下滑动,同时触发轻触开关连通,此时电动伸缩杆处于通电状态,带动底板向下滑动同时抵板对管道底部的支撑力变大,能够自动根据沉降深度自动调整底板的位置,加强了灵活性,同时也加强了管道支撑的稳定性,通过安装螺纹棒和螺母等,通过转动螺母,可以使螺纹棒横向插入到地里,能够快速对支撑座进行固定,同时也可以防止支撑座固定后出现偏移,加强了实用性。


