授权公布号:CN217928280U
天然气管道输送用具有压力可调结构的自动分输装置
有效
申请
2022-05-20
申请公布
1970-01-01
授权
2022-11-29
预估到期
2032-05-20
| 申请号 | CN202221221515.0 |
| 申请日 | 2022-05-20 |
| 授权公布号 | CN217928280U |
| 授权公告日 | 2022-11-29 |
| 分类号 | F17D1/04;F17D3/01;F16L9/19 |
| 分类 | 气体或液体的贮存或分配; |
| 申请人名称 | 陕西省天然气股份有限公司 |
| 申请人地址 | 陕西省西安市经济技术开发区A1区开元路2号 |
专利法律状态
2022-11-29
授权
状态信息
授权
摘要
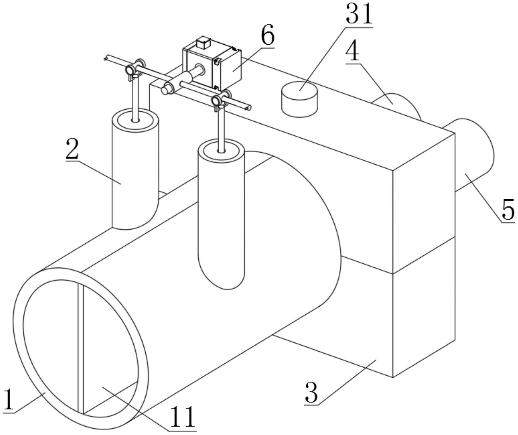
本实用新型公开了天然气管道输送用具有压力可调结构的自动分输装置,涉及天然气运输技术领域,天然气管道输送用具有压力可调结构的自动分输装置,包括主管道,主管道内部中间位置设置有分输隔板,主管道的上部设置有活塞泵,主管道的尾部设置有密封机构,本实用新型解决了现有天然气管道分输过程中,大多通过人工操作进行单管道分输,不便于调节压力进行输送,从而使得分输效率低且耗时长的问题,本实用新型通过不断通过驱动控制电机,带动旋转轴正反向转动,使得密封活塞在气腔内部沿竖直方向做往复运动,气筒内部的压强不断变化,从而将主管道内部天然气分输进入第一支管和第二支管,且改变控制电机的转速可改变天然气流速,提高分输效率。


