授权公布号:CN213361594U
一种GPS定位辅助装置
有效
申请
2020-08-27
申请公布
1970-01-01
授权
2021-06-04
预估到期
2030-08-27
| 申请号 | CN202021823855.1 |
| 申请日 | 2020-08-27 |
| 授权公布号 | CN213361594U |
| 授权公告日 | 2021-06-04 |
| 分类号 | F16M11/04;F16M11/28;F16M11/34;F16M11/36;G01S19/42 |
| 分类 | 工程元件或部件;为产生和保持机器或设备的有效运行的一般措施;一般绝热; |
| 申请人名称 | 上海大众出行信息技术股份有限公司 |
| 申请人地址 | 上海市徐汇区虹漕南路217-225号1-3层C1室 |
专利法律状态
2021-06-04
授权
状态信息
授权
摘要
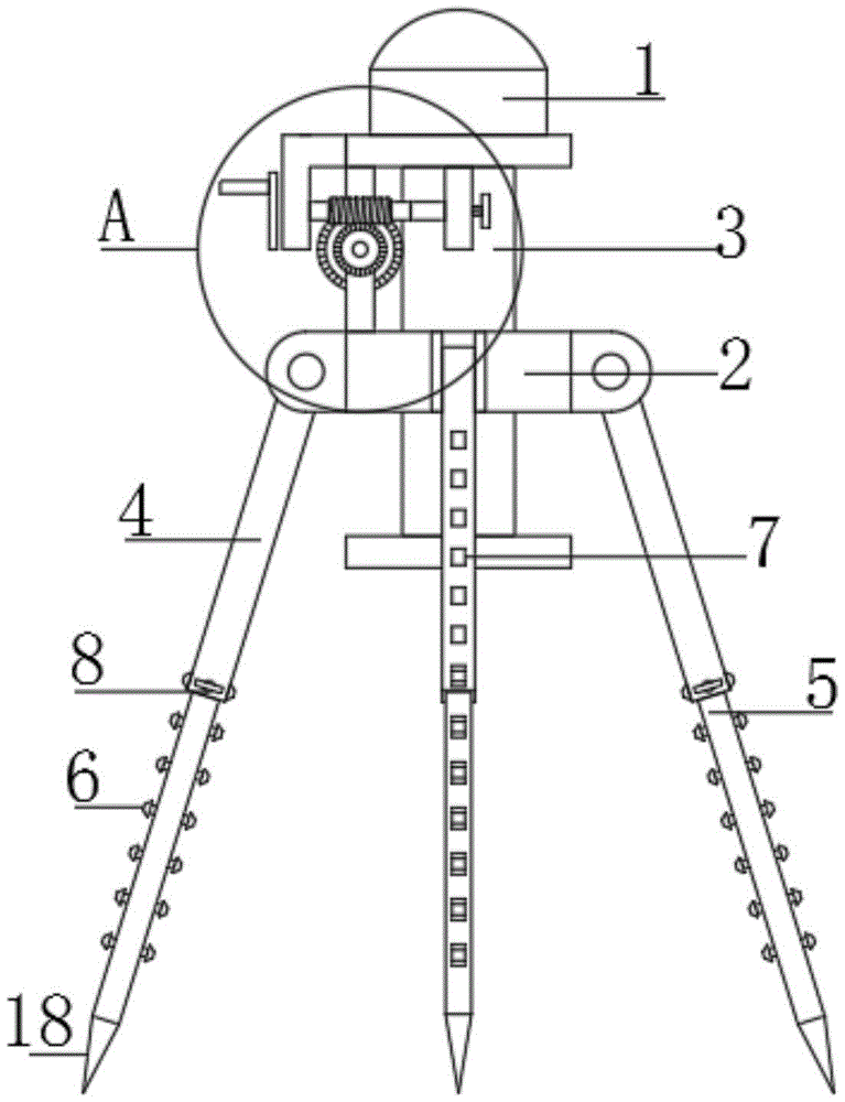
本实用新型公开了一种GPS定位辅助装置,包括GPS定位仪和安装架,所述安装架内设置有滑柱,且GPS定位仪固定安装于滑柱上端,安装架的一侧上方转动连接有齿轮,齿轮的前侧固定连接有蜗轮,蜗轮的上方设有与其啮合的蜗杆,蜗杆的另一端固定连接有螺纹筒。本实用新型通过将GPS定位仪安装在滑柱上,通过安装架周侧的若干滑筒和支撑柱,可根据具体的地貌调节各滑筒内支撑柱的伸出长度,通过开口和卡块定位,固定伸出长度,使定位仪在勘测地点能够稳定的完成勘测工作,通过将GPS定位仪安装固定在可上下滑动的滑柱上,通过转动转盘,由传动结构传导,调节滑柱在安装架上的位置高度进行微调,从而方便工作人员进行操作。


