授权公布号:CN207851963U
移动贩卖机
有效
申请
2017-12-18
申请公布
1970-01-01
授权
2018-09-11
预估到期
2027-12-18
| 申请号 | CN201721767977.1 |
| 申请日 | 2017-12-18 |
| 授权公布号 | CN207851963U |
| 授权公告日 | 2018-09-11 |
| 分类号 | G07F9/10;G07F9/02;G07F11/00 |
| 分类 | 核算装置; |
| 申请人名称 | 重庆呼我出行网络科技有限公司 |
| 申请人地址 | 重庆市北部新区泰山大道中段1号 |
专利法律状态
2018-09-11
授权
状态信息
授权
摘要
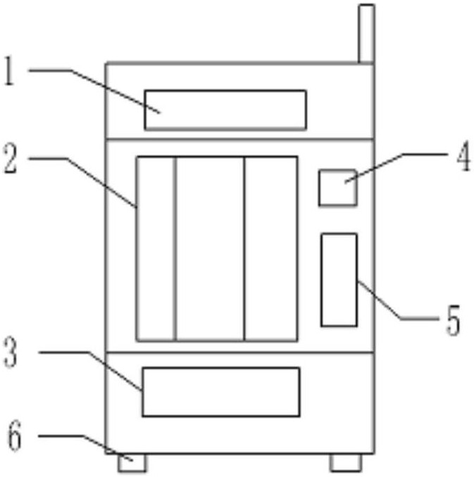
本实用新型属于投币设备或类似设备领域,具体涉及移动贩卖机,针对现有技术中自动售货机位置固定,服务范围小的问题,提出以下方案:包括设置在汽车内的机体,所述机体包括有固定板,所述固定板将机体固定在车体内,所述固定板与所述车体之间为可拆卸连接;所述机体设有存储室,所述存储室内设有货架,所述货架上设有包装盒,包装盒挂设在货架上,所述机体上还设有LED显示屏;所述机体由上机体、中机体和下机体构成,所述上机体包括LED显示屏,中机体包括存储室,下机体包括出货腔和出货口,所述上机体、中机体和下机体之间为可拆卸连接。


