授权公布号:CN216553679U
一种新型的门窗密封结构
有效
申请
2021-12-17
申请公布
1970-01-01
授权
2022-05-17
预估到期
2031-12-17
| 申请号 | CN202123178921.1 |
| 申请日 | 2021-12-17 |
| 授权公布号 | CN216553679U |
| 授权公告日 | 2022-05-17 |
| 分类号 | E06B7/23;E06B7/28 |
| 分类 | 一般门、窗、百叶窗或卷辊遮帘;梯子; |
| 申请人名称 | 天津木艺家新材料科技有限公司 |
| 申请人地址 | 天津市北辰区津永公路南 |
专利法律状态
2022-05-17
授权
状态信息
授权
摘要
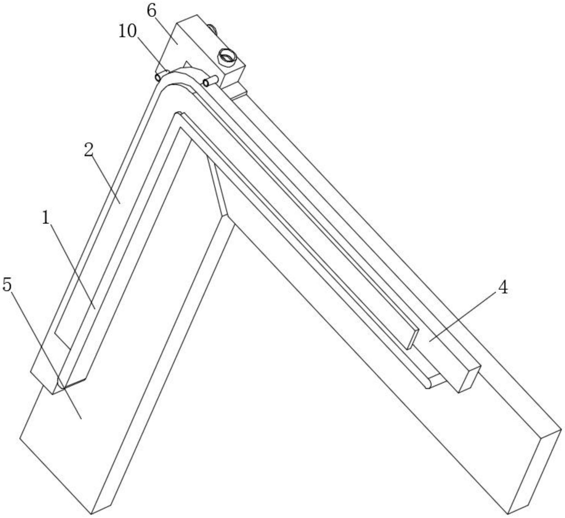
本实用新型涉及门窗加工技术领域,且公开了一种新型的门窗密封结构,包括支架,所述支架的内部滑动调节有挤压板,所述挤压板的顶部固定连接有螺杆,所述螺杆的外部滑动卡接有固定板,所述固定板的外部固定连接有卡槽,所述卡槽的内部活动卡接有浇注盒。该新型的门窗密封结构,将螺杆卡接在固定板内,将密封条卡接在挤压板和固定板的中间,拉动挤压板在固定板的内调节,当密封条的顶边超过固定板的顶边后,转动螺帽得螺杆和固定板收缩并将密封条固定,然后将固定板对准到门窗的顶角处,通过支撑固定板起到对密封条的限位,加强了对密封条的挤压强度,避免了操作者双手挤压密封条来维持密封条的稳定,提高了本装置的便捷性。


