授权公布号:CN215783146U
一种水磨石生产用原料混合装置
有效
申请
2021-07-23
申请公布
1970-01-01
授权
2022-02-11
预估到期
2031-07-23
| 申请号 | CN202121679798.9 |
| 申请日 | 2021-07-23 |
| 授权公布号 | CN215783146U |
| 授权公告日 | 2022-02-11 |
| 分类号 | B01F35/32;B01F27/95;B28C5/16;B28C5/14;B28C9/02 |
| 分类 | 一般的物理或化学的方法或装置; |
| 申请人名称 | 安徽力峰建材科技有限公司 |
| 申请人地址 | 安徽省铜陵市枞阳县经济开发区新楼工业园 |
专利法律状态
2022-02-11
授权
状态信息
授权
摘要
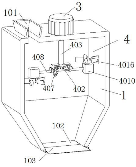
本产品为一种水磨石生产用原料混合装置,涉及水磨石生产技术领域:包括料筒,所述料筒内设置有搅拌机构且搅拌机构与料筒顶部的驱动电机相连接,所述搅拌机构的主传动轴通过锥形齿轮组连接着与其垂直的副传动轴,所述副传动轴两端通过锥形齿轮组活动连接有搅拌叶片;本实用新型具有如下有益效果:本实用新型结构简单、使用方便,通过驱动电机与锥形齿轮的配合带动搅拌叶片在竖直平面搅动的同时还能够水平转动,使得原料混合更均匀,且不同于传统单一方向旋转的搅拌方式,能够有效避免原料受离心力作用产生层析现象。


