授权公布号:CN217326136U
一种用于走廊天窗的吊顶结构
有效
申请
2022-01-17
申请公布
1970-01-01
授权
2022-08-30
预估到期
2032-01-17
| 申请号 | CN202220114341.1 |
| 申请日 | 2022-01-17 |
| 授权公布号 | CN217326136U |
| 授权公告日 | 2022-08-30 |
| 分类号 | E04D13/03;E04B9/06;E04B1/344;E04B9/18;E04B9/24 |
| 分类 | 建筑物; |
| 申请人名称 | 广州金霸建材股份有限公司 |
| 申请人地址 | 广东省广州市荔湾区文昌南路兴贤坊34号一楼自编106室 |
专利法律状态
2022-08-30
授权
状态信息
授权
摘要
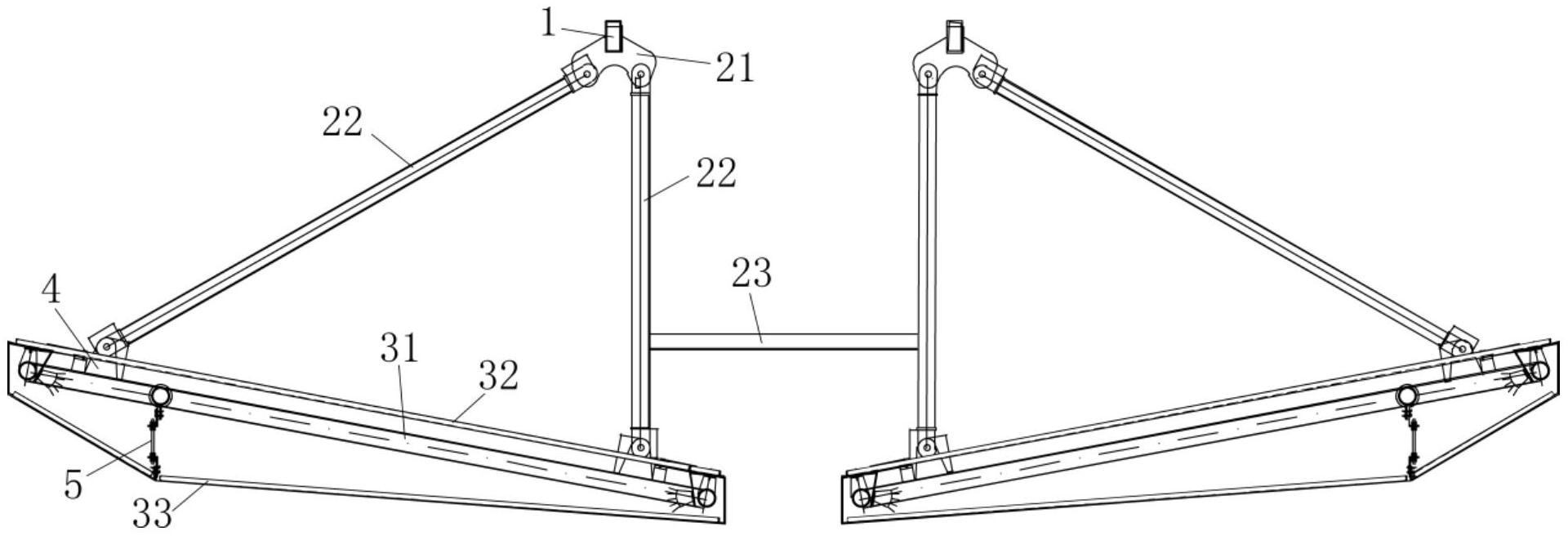
本实用新型公开了一种用于走廊天窗的吊顶结构,包括两条互相平行的吊顶龙骨和沿两个吊顶龙骨长度方向安装的若干顶板结构,各所述顶板结构与吊顶龙骨之间均安装有连接结构进行连接,并且两个所述吊顶龙骨上相对的两个连接结构之间还连接有一撑杆;所述连接结构包括连接吊板和两个拉杆,所述拉杆可根据现场需要更换不同长度的拉杆,所述连接吊板的顶部设有与吊顶龙骨固定安装的凹部,两个所述拉杆的同一端分别可旋转调节安装在所述连接吊板下方的两侧,两个所述拉杆远离连接吊板的一端分别与相对应一侧的顶板结构连接安装。本实用新型能够适应不同宽度走廊通道,且安装方便、用时较短,有利于管线安装。


