授权公布号:CN220414642U
一种冲孔水滴型铝垂片
有效
申请
2023-04-18
申请公布
1970-01-01
授权
2024-01-30
预估到期
2033-04-18
| 申请号 | CN202320858397.2 |
| 申请日 | 2023-04-18 |
| 授权公布号 | CN220414642U |
| 授权公告日 | 2024-01-30 |
| 分类号 | E04B9/00;E04B9/02;E04B9/06 |
| 分类 | 建筑物; |
| 申请人名称 | 广州金霸建材股份有限公司 |
| 申请人地址 | 广东省广州市荔湾区文昌南路兴贤坊34号一楼自编106室 |
专利法律状态
2024-01-30
授权
状态信息
授权
摘要
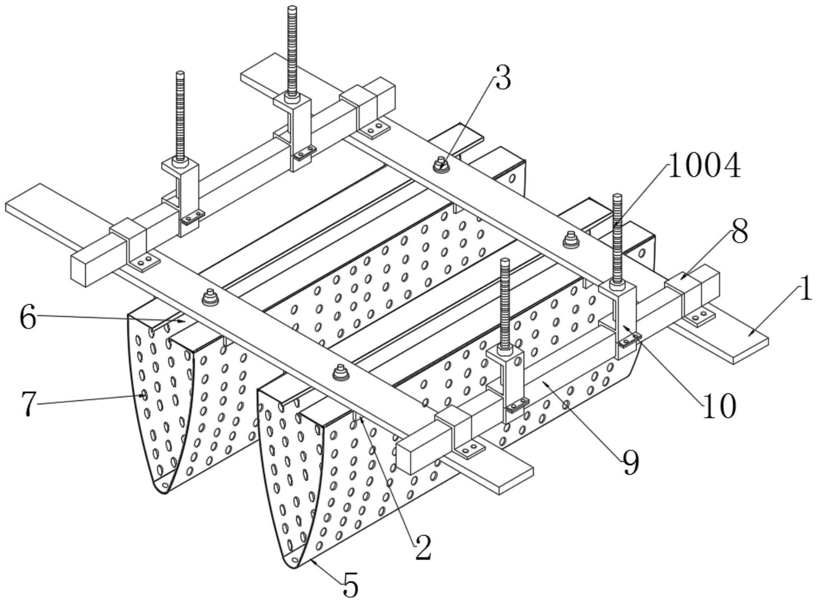
本实用新型公开了一种冲孔水滴型铝垂片,第一龙骨下端一侧设置有限位槽,第一龙骨正对限位槽中部一侧设置有螺栓,螺栓位于限位槽一端连接有抵持板,限位槽内壁贴合连接有冲孔水滴型铝垂片本体,冲孔水滴型铝垂片本体顶端一侧设置有卡口,抵持板限位卡接卡口,本实用新型具有以下优点:通过对冲孔水滴型铝垂片本体上均匀冲压若干个通风冲孔,以此可提高冲孔水滴型铝垂片本体的通风性能,可有效避免出现冲孔水滴型铝垂片本体分布安装于天花板上后通风效果不好情况,将上锁扣通过穿孔穿在吊杆上,并通过螺纹转动吊杆上螺帽调节上锁扣位于吊杆的高度,以此保证冲孔水滴型铝垂片本体安装在同一水平面。


