授权公布号:CN217615514U
一种铝合金窗户型材加工生产用喷涂装置
有效
申请
2022-06-23
申请公布
1970-01-01
授权
2022-10-21
预估到期
2032-06-23
| 申请号 | CN202221587592.8 |
| 申请日 | 2022-06-23 |
| 授权公布号 | CN217615514U |
| 授权公告日 | 2022-10-21 |
| 分类号 | B05B13/02;B05B13/04 |
| 分类 | 一般喷射或雾化;对表面涂覆液体或其他流体的一般方法〔2〕; |
| 申请人名称 | 北京施塔曼科技有限公司 |
| 申请人地址 | 北京市海淀区中关村东路1号院8号楼一层CG05-169号 |
专利法律状态
2022-10-21
授权
状态信息
授权
摘要
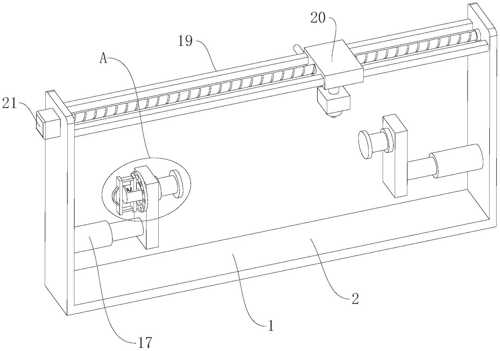
本实用新型公开了一种铝合金窗户型材加工生产用喷涂装置,包括转动调节机构,所述转动调节机构包括U形板、喷漆头、圆形杆、圆形块、弹簧和螺杆;所述U形板内设有喷漆头,所述U形板内设有两个竖块。本实用新型第一电动伸缩杆通过圆形块对铝合金窗户型材进行固定,第二电动伸缩杆带动喷漆头向下移动,喷漆头对铝合金窗户型材进行喷涂处理,电机带动喷漆头横向移动,把手向左移动使得卡杆与卡槽分离,方杆通过圆形杆带动圆形块转动,圆形块带动铝合金窗户型材转动至另一面进行喷涂处理,便于快速对铝合金窗户型材进行翻转并固定,不需要工人解除对铝合金窗户型材的固定再手动翻转到铝合金窗户型材的另一面,省时省力,提高了喷涂的效率。


