授权公布号:CN209129203U
一种便于安装的拼接式墙体板材
有效
申请
2018-11-06
申请公布
1970-01-01
授权
2019-07-19
预估到期
2028-11-06
| 申请号 | CN201821823515.1 |
| 申请日 | 2018-11-06 |
| 授权公布号 | CN209129203U |
| 授权公告日 | 2019-07-19 |
| 分类号 | E04B2/00;E04B2/08 |
| 分类 | 建筑物; |
| 申请人名称 | 北京施塔曼科技有限公司 |
| 申请人地址 | 北京市海淀区中关村东路1号院8号楼 |
专利法律状态
2019-07-19
授权
状态信息
授权
摘要
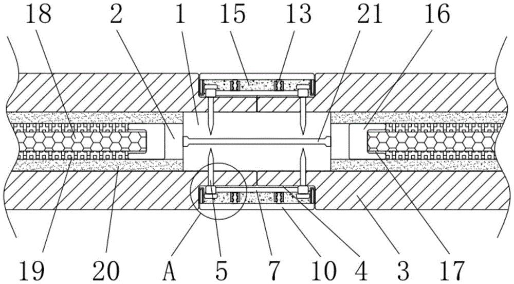
本实用新型公开了一种便于安装的拼接式墙体板材,包括支杆和板材,所述支杆的前后两侧均固定装配有底板,所述支杆的上下两端均与两个板材的内侧紧密贴合,两个同侧所述板材的内侧端均开设有凹槽,所述凹槽的内壁垂直插接有铆钉,且铆接的内侧端贯穿板材插接于支杆的外侧,所述铆钉的外壁均套接有圆环,两个同侧所述圆环之间固定装配有连接杆。通过支杆和底板的配合,通过凹槽和砂浆层的配合,通过圆环和连接杆的配合,圆环和连接杆将用于固定板材的铆钉连接在一起,加强两个板材在拼接时的整体性能,在加强两块板材拼接固定效果的同时挡板使拼接处表面更加的平整,方便对板材的表面加以装饰。


