授权公布号:CN213330699U
一种铝护实木窗拼樘结构
有效
申请
2020-08-11
申请公布
1970-01-01
授权
2021-06-01
预估到期
2030-08-11
| 申请号 | CN202021664249.X |
| 申请日 | 2020-08-11 |
| 授权公布号 | CN213330699U |
| 授权公告日 | 2021-06-01 |
| 分类号 | E06B3/964 |
| 分类 | 一般门、窗、百叶窗或卷辊遮帘;梯子; |
| 申请人名称 | 北京施塔曼科技有限公司 |
| 申请人地址 | 北京市海淀区中关村东路1号院8号楼一层CG05-169号 |
专利法律状态
2021-06-01
授权
状态信息
授权
摘要
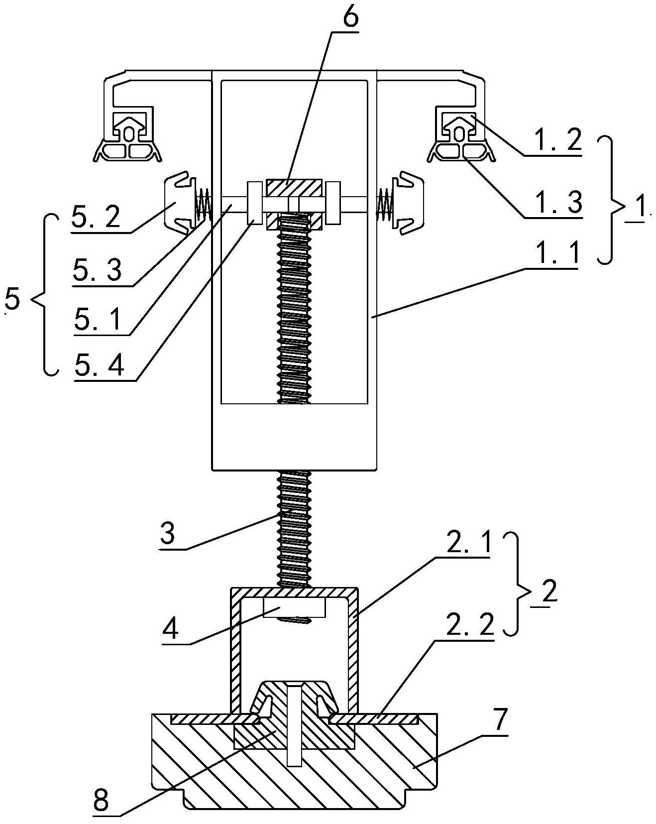
本实用新型公开了一种铝护实木窗拼樘结构,其包括连接螺杆;连接螺杆的一端穿过矩形管的一端,连接螺杆的另一端穿过凵形槽的封闭端且套设螺接有顶紧螺母;矩形管的两侧设有两个对称设置的卡接机构,连接螺杆的一端与套管的侧壁螺接,卡接机构的滑杆活动置于套管内。优点:安装本实用新型时,连接螺杆使拼樘外框的密封条压紧在铝护实木窗室外侧,转动连接螺杆松开滑杆时,滑杆沿套管滑动,第一尼龙卡扣卡接在铝护实木窗室外侧的铝框内,将拼樘外框牢固;拧紧顶紧螺母使卡板压紧在铝护实木窗室内侧,将拼樘内框牢固的卡紧;不需要螺钉与铝护实木窗进行连接也能够将本实用新型牢固固定,省时省力,能够有效避免铝护实木窗受损,延长使用寿命。


