授权公布号:CN213444649U
一种可调节输送宽度自动生产线运输带
有效
申请
2020-10-27
申请公布
1970-01-01
授权
2021-06-15
预估到期
2030-10-27
| 申请号 | CN202022428954.6 |
| 申请日 | 2020-10-27 |
| 授权公布号 | CN213444649U |
| 授权公告日 | 2021-06-15 |
| 分类号 | B65G21/14 |
| 分类 | 输送;包装;贮存;搬运薄的或细丝状材料; |
| 申请人名称 | 四川鑫富豪建材有限公司 |
| 申请人地址 | 四川省成都市郫都区安靖镇赛驰村6组22号 |
专利法律状态
2021-06-15
授权
状态信息
授权
摘要
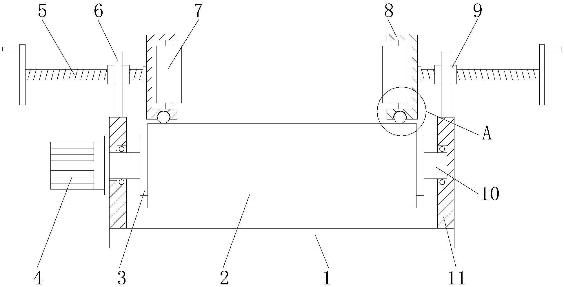
本实用新型公开了一种可调节输送宽度自动生产线运输带,包括底板,所述底板顶部的两侧均固定连接有固定板,所述固定板相对一侧之间的前后两侧均活动连接有转杆,所述转杆的表面固定套设有转辊,左侧固定板的左前方固定连接有驱动电机,所述驱动电机输出端的右侧贯穿至固定板相对的一侧之间并与前侧转杆的左侧固定连接。本实用新型通过底板、输送带、转辊、驱动电机、螺纹杆、竖板、导向筒、固定架、螺纹套、转杆、固定板、卡槽、滚珠和张紧轮的配合使用,解决了现有的自动生产线运输带在输送产品时,无法根据产品的尺寸对输送宽度进行调节,从而容易使产品容易出现晃动、运输不稳定的情况,不利于产品正常输送的问题。


