授权公布号:CN114212886B
一种厌氧氨氧化颗粒污泥筛分装置及方法
有效
申请
2021-12-10
申请公布
2022-03-22
授权
2023-11-03
预估到期
2041-12-10
| 申请号 | CN202111510528.X |
| 申请日 | 2021-12-10 |
| 申请公布号 | CN114212886A |
| 申请公布日 | 2022-03-22 |
| 授权公布号 | CN114212886B |
| 授权公告日 | 2023-11-03 |
| 分类号 | C02F3/30;C02F11/00;B01D21/02;B01D36/04;B01D35/16;B02C18/10;B02C23/10 |
| 分类 | 水、废水、污水或污泥的处理; |
| 申请人名称 | 北京城市排水集团有限责任公司 |
| 申请人地址 | 北京市西城区车公庄大街北里乙37号301室 |
专利法律状态
2023-11-03
授权
状态信息
授权
2022-04-08
实质审查的生效
状态信息
实质审查的生效;IPC(主分类):C02F3/30;申请日:20211210
2022-03-22
公布
状态信息
公布
摘要
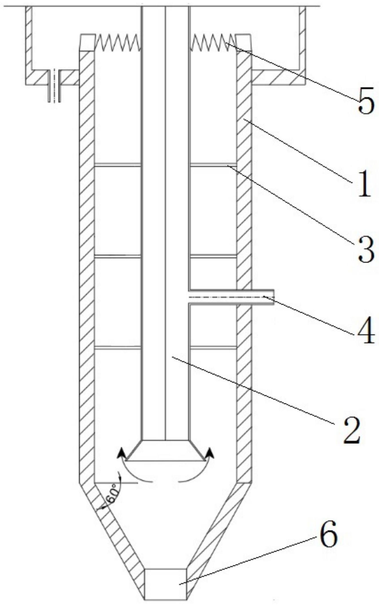
本发明公开了一种厌氧氨氧化颗粒污泥筛分装置及方法,包括:罐体的上端设置有出水口,罐体的下端设置有排泥口,中央管设置在罐体内,中央管的一端处于排泥口的上方,中央管的另一端穿过出水口并向外延伸,进水管的一端穿过罐体与中央管中部连通,破碎结构设置在罐体内,该筛分装置能够高效截留功能菌、操作使用简单、高能低耗、无需外加电源、运行维护便利,利用重力进行筛分,使挟裹小颗粒污泥的絮体污泥和内包裹大量氮气密度远小于水的大颗粒在上升过程中被破碎结构切割成高密度小体积的颗粒,最终经沉淀从排泥口排出,利于功能菌的回收利用和絮体污泥的淘洗,利于总氮的去除和系统颗粒化的形成。


