授权公布号:CN112028320B
一种无酸化芬顿氧化处理污泥厌氧消化液的系统及污泥厌氧消化液的处理方法
有效
申请
2020-09-02
申请公布
2020-12-04
授权
2024-02-02
预估到期
2040-09-02
| 申请号 | CN202010911932.7 |
| 申请日 | 2020-09-02 |
| 申请公布号 | CN112028320A |
| 申请公布日 | 2020-12-04 |
| 授权公布号 | CN112028320B |
| 授权公告日 | 2024-02-02 |
| 分类号 | C02F9/00;C02F1/66N;C02F1/72N;C02F1/56N;C02F1/52N |
| 分类 | 水、废水、污水或污泥的处理; |
| 申请人名称 | 北京城市排水集团有限责任公司 |
| 申请人地址 | 北京市西城区车公庄大街北里乙37号 |
专利法律状态
2024-02-02
授权
状态信息
授权
2020-12-04
公布
状态信息
公布
摘要
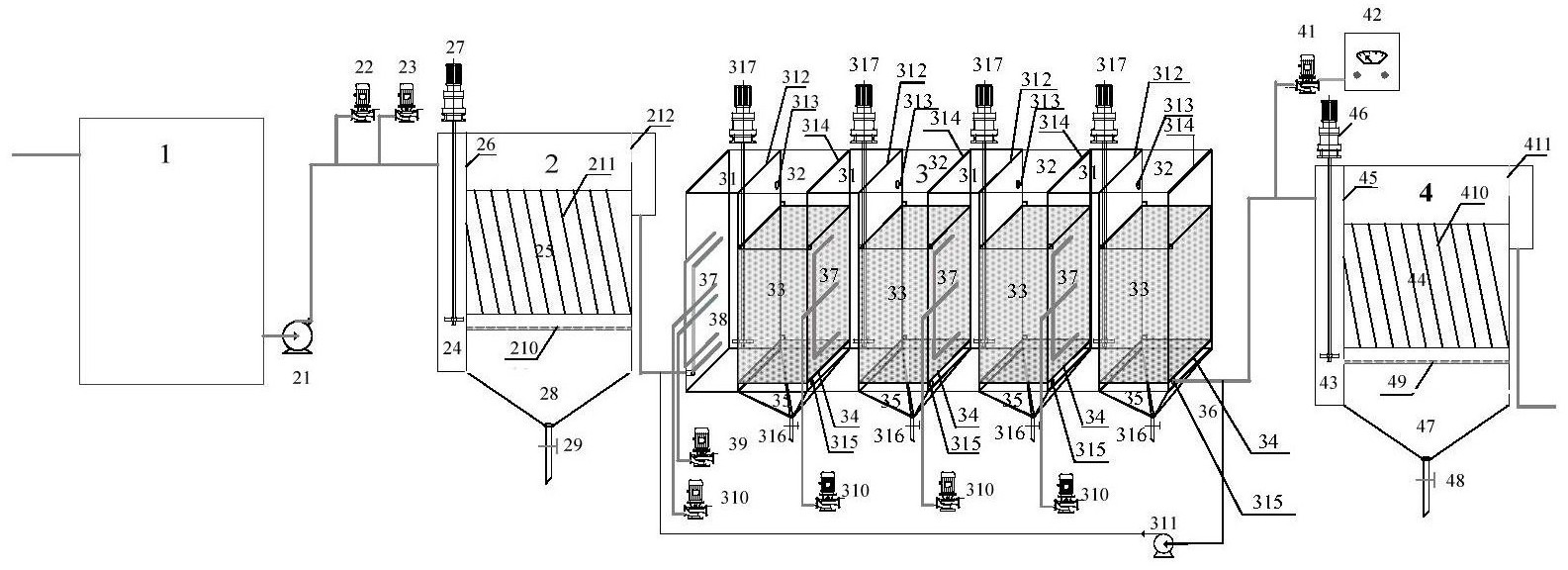
本发明公开了一种无酸化芬顿氧化处理污泥厌氧消化液的系统及污泥厌氧消化液的处理方法。该系统包括:调节池、混凝沉淀装置、芬顿催化氧化装置和中和沉淀装置。该方法包括如下步骤:向调节池中通入污泥厌氧消化液;将调节池内的污泥厌氧消化液输送入混凝沉淀装置中进行混凝沉淀处理;将混凝沉淀处理后的出水输送入芬顿催化氧化装置进行芬顿催化氧化处理;经过芬顿催化氧化处理后的一部分出水回流至芬顿催化氧化池的进水端,其余出水进入中和沉淀装置;进入中和沉淀装置的其余出水在中和沉淀池中调节pH,然后进行中和沉淀处理。本发明实现了无酸化处理,减少芬顿反应药剂投加量,降低运行成本,并提高了羟基自由基的利用效率以及有机物去除率。


