授权公布号:CN100467402C
升流式复合厌氧水解酸化处理装置及其方法
有效
申请
2007-01-19
申请公布
2007-07-25
授权
2009-03-11
预估到期
2027-01-19
| 申请号 | CN200710062869.9 |
| 申请日 | 2007-01-19 |
| 申请公布号 | CN101003404A |
| 申请公布日 | 2007-07-25 |
| 授权公布号 | CN100467402C |
| 授权公告日 | 2009-03-11 |
| 分类号 | C02F3/28 |
| 分类 | 水、废水、污水或污泥的处理; |
| 申请人名称 | 重庆康达环保产业(集团)有限公司 |
| 申请人地址 | 重庆市北部新区高新园星光大道72号 |
专利法律状态
2024-03-19
文件的公告送达
状态信息
文件的公告送达;IPC(主分类):C02F3/28;收件人:段海燕;文件名称:缴费通知书
2015-10-28
专利申请权、专利权的转移
状态信息
专利权的转移;IPC(主分类):C02F3/28;登记生效日:20150924;变更事项:专利权人;变更前:北京工业大学;变更后:重庆康达环保产业(集团)有限公司;变更事项:地址;变更前:100022 北京市朝阳区平乐园100号;变更后:401121 重庆市北部新区高新园星光大道72号
2009-03-11
授权
状态信息
授权
2007-09-19
实质审查的生效
状态信息
实质审查的生效
2007-07-25
公布
状态信息
公布
摘要
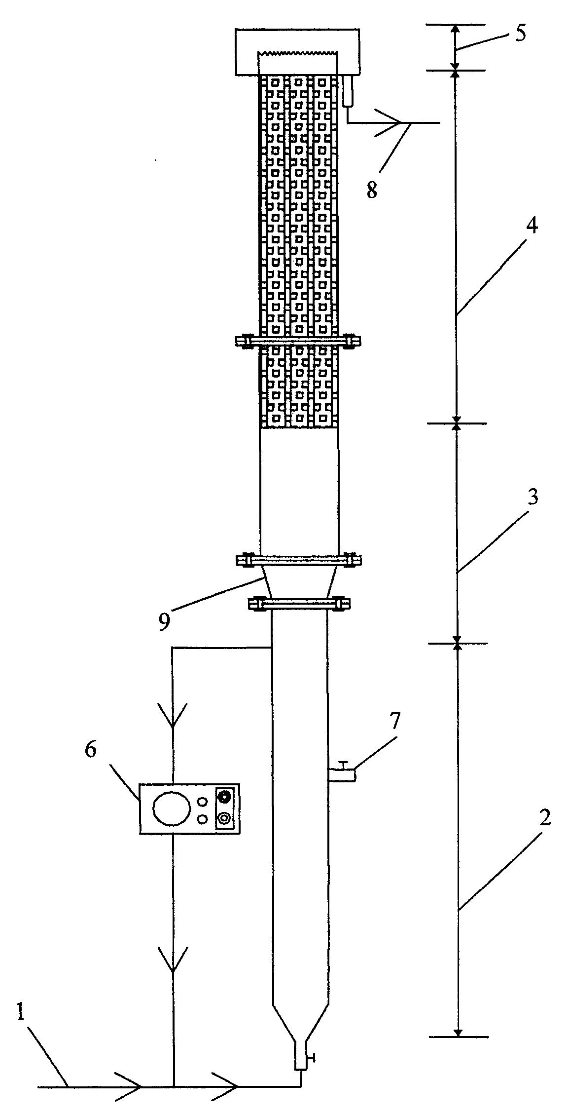
一种升流式复合厌氧水解酸化处理装置及其方法,属于污水处理技术领域,解决了现有工艺水解酸化效率低、易堵塞、构造复杂的问题。其装置底部设有进水管(1),顶部设有集水装置(5),集水装置(5)连接出水管(8),特征在于还包括:自下至上依次为悬浮污泥区(2)、泥水分离区(3)、生物膜强化区(4);悬浮污泥区(2)设有循环泵(6),循环泵(6)分别与悬浮污泥区(2)和进水管(1)连接,形成一个循环回路;悬浮污泥区(2)设有排泥口(7),泥水分离区(3)与悬浮污泥区(2)通过变径接头(9)连接,生物膜强化区(4)填充生物载体。本发明装置及方法简单,水解酸化效率高,可用于生活污水及可生化性较好的工业污水的处理。


