授权公布号:CN217173393U
一种一体化污水处理装置
有效
申请
2022-03-29
申请公布
1970-01-01
授权
2022-08-12
预估到期
2032-03-29
| 申请号 | CN202220711474.7 |
| 申请日 | 2022-03-29 |
| 授权公布号 | CN217173393U |
| 授权公告日 | 2022-08-12 |
| 分类号 | C02F3/30;C02F9/14;C02F101/30N;C02F101/38N |
| 分类 | 水、废水、污水或污泥的处理; |
| 申请人名称 | 中节能国祯环保科技股份有限公司 |
| 申请人地址 | 安徽省合肥市高新技术产业开发区科学大道91号 |
专利法律状态
2022-08-12
授权
状态信息
授权
摘要
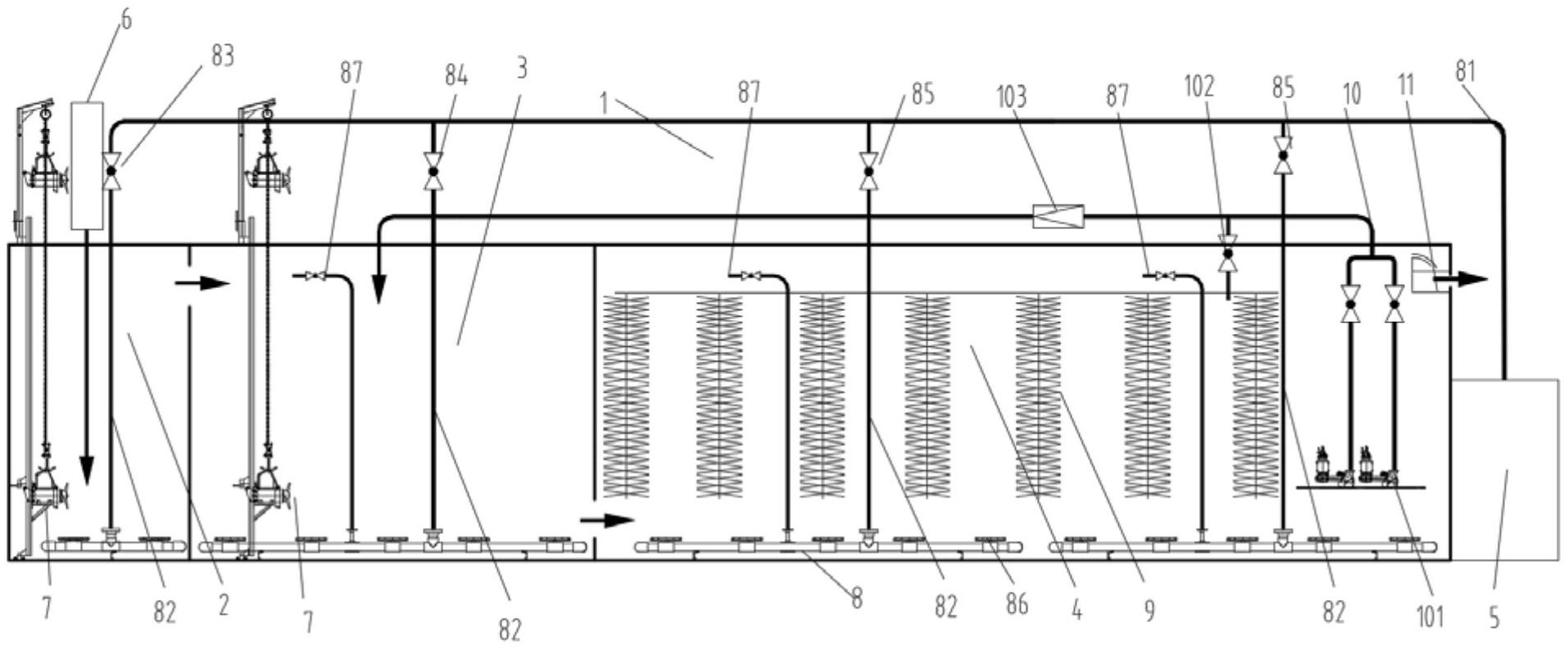
本实用新型公开了一种一体化污水处理装置,包括箱体,所述箱体内集成有依次布置有厌氧反应池、缺氧反应池、好氧反应池,厌氧反应池、缺氧反应池、好氧反应池内设有曝气系统;所述好氧反应池内使用弹性填料;所述箱体内设有硝化液回流系统,所述硝化液回流系统包括位于所述好氧反应池内的回流泵,所述回流泵通过回流管道与所述缺氧反应池连通,本实用新型提供了一种可变换工艺操作的一体化装置,根据污水的性质,通过控制厌氧、缺氧、好氧反应池三个池子的曝气量,可随时切换成ANO工艺和普通活性法工艺,从而增加污水在相应反应池中的停留时间来去除污水中的污染物,提高了污染物去除效率。


