授权公布号:CN217145803U
一种新型结构的插销式快速夹
有效
申请
2022-05-23
申请公布
1970-01-01
授权
2022-08-09
预估到期
2032-05-23
| 申请号 | CN202221250477.1 |
| 申请日 | 2022-05-23 |
| 授权公布号 | CN217145803U |
| 授权公告日 | 2022-08-09 |
| 分类号 | B60P7/06;B60P7/08 |
| 分类 | 一般车辆; |
| 申请人名称 | 湖北安捷物流有限公司 |
| 申请人地址 | 湖北省武汉市东西湖区慈惠办事处八方路88号智能电网控制设备生产项目1号厂房1-4层1号、2号厂房1-6层1号 |
专利法律状态
2022-08-09
授权
状态信息
授权
摘要
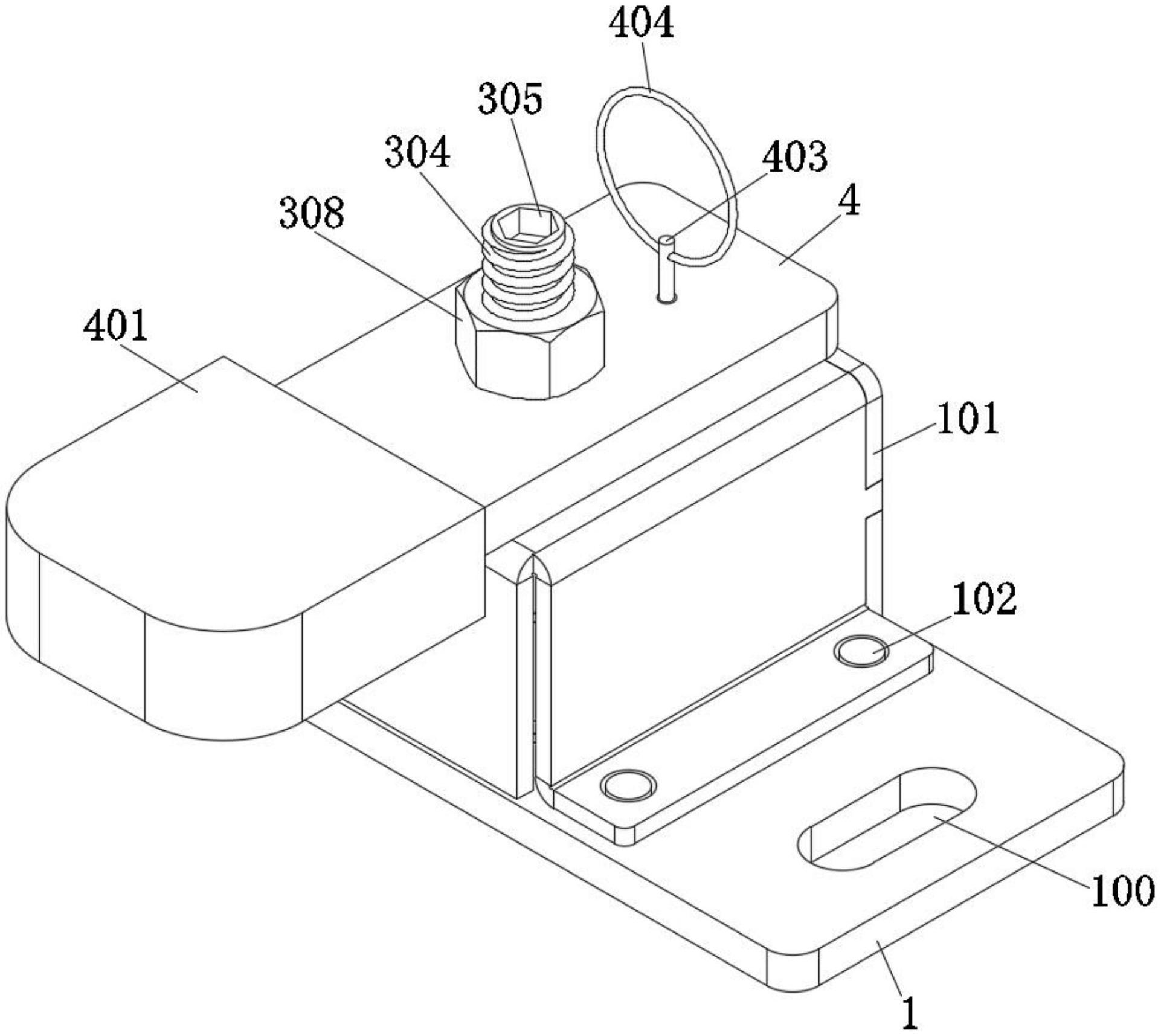
本实用新型公开了一种新型结构的插销式快速夹,包括基板、第一通槽、壳体、销钉、限位孔、安装座、杠杆、第一连杆、第一连接板、导向孔、第二连接板、滑槽、第一导向杆、第一弹簧、插销板、直线轴承、套筒、沟槽、第二导向杆、第二弹簧、螺纹柱、六角槽、第一螺母、垫圈、第二螺母、压板、第二连杆、拉环、第三弹簧和卡块;本实用新型设计有杠杆结构,可以轻松带动插销板,较之现有的拉动式结构更加方便省力;本实用新型设计有可调节的螺纹柱,可以对压板的高度进行调节,适用于压紧不同厚度规格的物品;且该压板设计为可转动式的,方便取放物品,其上设计的定位结构,可以在压板压紧后对其进行限位,从而避免压板发生偏转。


