授权公布号:CN212355130U
一种货运集装箱内架
有效
申请
2020-07-08
申请公布
1970-01-01
授权
2021-01-15
预估到期
2030-07-08
| 申请号 | CN202021326569.4 |
| 申请日 | 2020-07-08 |
| 授权公布号 | CN212355130U |
| 授权公告日 | 2021-01-15 |
| 分类号 | B65D90/00;B65D88/12 |
| 分类 | 输送;包装;贮存;搬运薄的或细丝状材料; |
| 申请人名称 | 湖北安捷物流有限公司 |
| 申请人地址 | 湖北省武汉市东西湖区慈惠办事处八方路88号智能电网控制设备生产项目1号厂房1-4层1号、2号厂房1-6层1号 |
专利法律状态
2021-01-15
授权
状态信息
授权
摘要
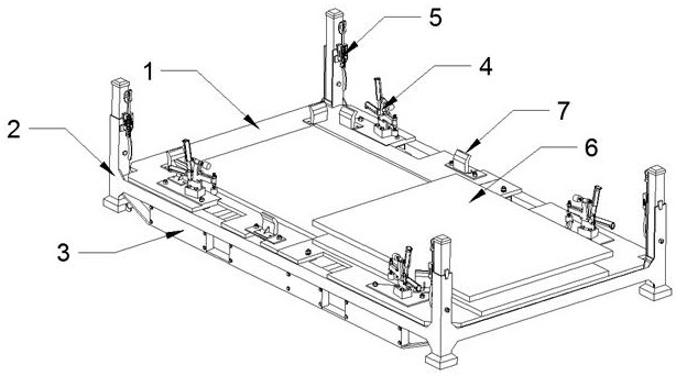
本实用新型公开了一种货运集装箱内架,包括基板、支柱、固定架、夹具、固定装置和运载装置,所述基板底端固定安装有固定架,所述基板上表面四角固定安装有支柱,所述支柱内侧固定安装有固定装置,所述基板上表面位于支柱的对应位置固定安装有夹具,此装置的设置便于将物料进行自动分层放置物料,增加物料放置时的稳定性,又通过驱动装置带动螺纹丝杆在箱体内往复运动,便于使用人员运输中上下料,提高集装箱内的空间使用率。


