授权公布号:CN219050433U
一种污泥处理刮泥机
有效
申请
2022-11-24
申请公布
1970-01-01
授权
2023-05-23
预估到期
2032-11-24
| 申请号 | CN202223129295.1 |
| 申请日 | 2022-11-24 |
| 授权公布号 | CN219050433U |
| 授权公告日 | 2023-05-23 |
| 分类号 | B01D21/18;B01D21/00 |
| 分类 | 一般的物理或化学的方法或装置; |
| 申请人名称 | 鹏鹞环保股份有限公司 |
| 申请人地址 | 江苏省无锡市宜兴市高塍镇鹏鹞科技创新园 |
专利法律状态
2023-05-23
授权
状态信息
授权
摘要
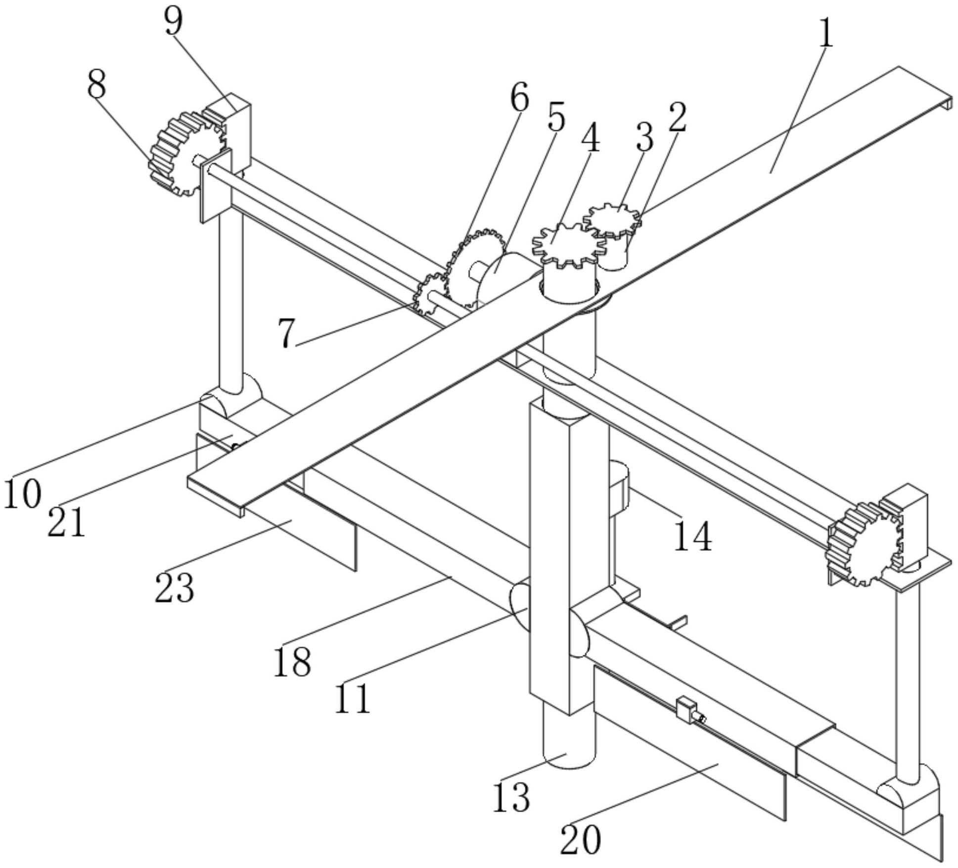
本实用新型涉及刮泥机技术领域,公开了一种污泥处理刮泥机,包括有支撑杆,所述支撑杆的上端圆周外表面上固定套接有支撑支架,所述支撑支架的上方固定连接有第二电机,所述第二电机的一端活动连接有第三齿轮,所述第三齿轮的一侧齿接有第四齿轮,所述第四齿轮的中间固定套接有第一连接杆,所述第一连接杆的两端均固定连接有第五齿轮。本实用新型所述的一种污泥处理刮泥机方便了调节刮泥机上刮板的角度,方便了调节刮板高度,方便了刮泥机进行检修,方便了在刮泥机上拆卸刮板。


