授权公布号:CN214288835U
一种提高淀粉纯度的旋流器
有效
申请
2021-01-05
申请公布
1970-01-01
授权
2021-09-28
预估到期
2031-01-05
| 申请号 | CN202120017121.2 |
| 申请日 | 2021-01-05 |
| 授权公布号 | CN214288835U |
| 授权公告日 | 2021-09-28 |
| 分类号 | B04C5/103;B04C11/00 |
| 分类 | 用于实现物理或化学工艺过程的离心装置或离心机; |
| 申请人名称 | 云南德春绿色食品有限公司 |
| 申请人地址 | 云南省玉溪市澄江县工业园区(蛟龙潭片区) |
专利法律状态
2021-09-28
授权
状态信息
授权
摘要
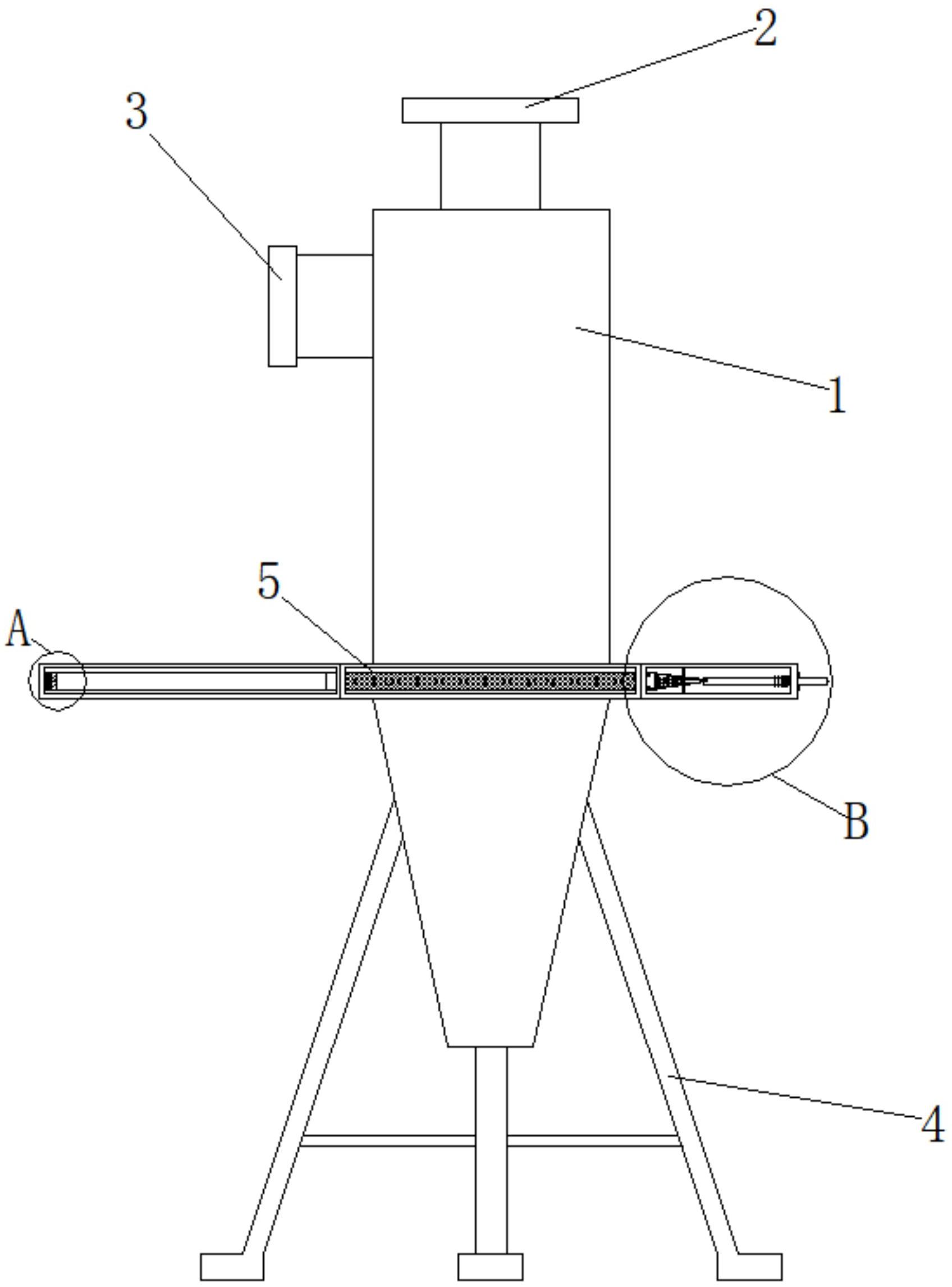
本实用新型公开了一种提高淀粉纯度的旋流器,涉及食品加工技术领域。该提高淀粉纯度的旋流器包括旋流器,所述旋流器上固定连接有溢出口,所述旋流器的左侧与进料口的右侧固定连接,所述旋流器的底部与底座固定连接,所述旋流器的内壁活动连接有旋流网,所述旋流网均与拆卸仓和更换仓的内壁滑动连接,所述旋流网的右侧开设有卡槽,所述旋流网右侧开设的卡槽与卡块活动连接,所述卡块通过连接杆与拆卸仓的左侧内壁滑动连接。该装置通过拆卸杆当需要进行更换或者清洗旋流网时,通过向左按压拆卸杆即可实现,将旋流网弹出,从而提高了情绪旋流网的效率,增加旋流淀粉的效率,同时旋流网方便清洗后,还能提高淀粉纯度。


