授权公布号:CN214416717U
集成化淀粉旋流装置
有效
申请
2021-01-05
申请公布
1970-01-01
授权
2021-10-19
预估到期
2031-01-05
| 申请号 | CN202120016720.2 |
| 申请日 | 2021-01-05 |
| 授权公布号 | CN214416717U |
| 授权公告日 | 2021-10-19 |
| 分类号 | B04C5/22 |
| 分类 | 用于实现物理或化学工艺过程的离心装置或离心机; |
| 申请人名称 | 云南德春绿色食品有限公司 |
| 申请人地址 | 云南省玉溪市澄江县工业园区(蛟龙潭片区) |
专利法律状态
2021-10-19
授权
状态信息
授权
摘要
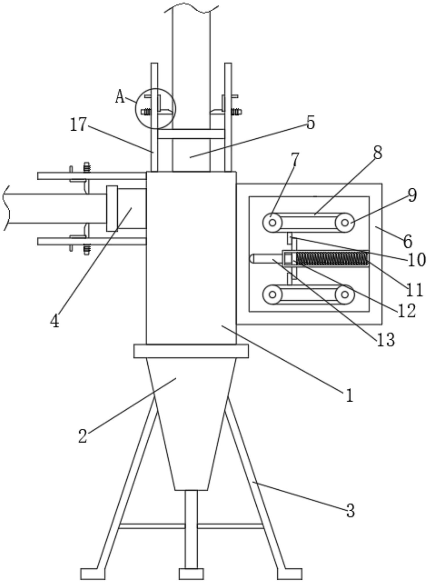
本实用新型公开了一种集成化淀粉旋流装置,涉及食品技术领域。该装置包括旋流箱,所述旋流箱的底部与分离器的顶部固定连接,所述分离器与固定架固定连接,所述旋流箱的顶部与溢出口的底部固定连接,所述旋流箱的左侧与进料口的右侧固定连接,所述旋流箱的右侧与冲击仓的左侧固定连接,所述冲击仓的里侧与一号传动轮转动连接,所述一号传动轮通过一号传动皮带与二号传动轮传动连接,所述一号传动皮带上固定连接有一号支架,所述一号支架与竖板活动连接,该装置通过震动杆可以实现进行周期性的对旋流装置进行震动的效果,从而减少淀粉粘粘在螺旋内壁上的效果,减少了淀粉在旋流装置中淀粉的浪费。


