授权公布号:CN215781096U
一种高空作业悬挂装置
有效
申请
2021-08-20
申请公布
1970-01-01
授权
2022-02-11
预估到期
2031-08-20
| 申请号 | CN202121964233.5 |
| 申请日 | 2021-08-20 |
| 授权公布号 | CN215781096U |
| 授权公告日 | 2022-02-11 |
| 分类号 | A62B35/00 |
| 分类 | 救生;消防; |
| 申请人名称 | 昆明飞翔材料技术有限公司 |
| 申请人地址 | 云南省昆明市晋宁工业园区上蒜片区 |
专利法律状态
2022-02-11
授权
状态信息
授权
摘要
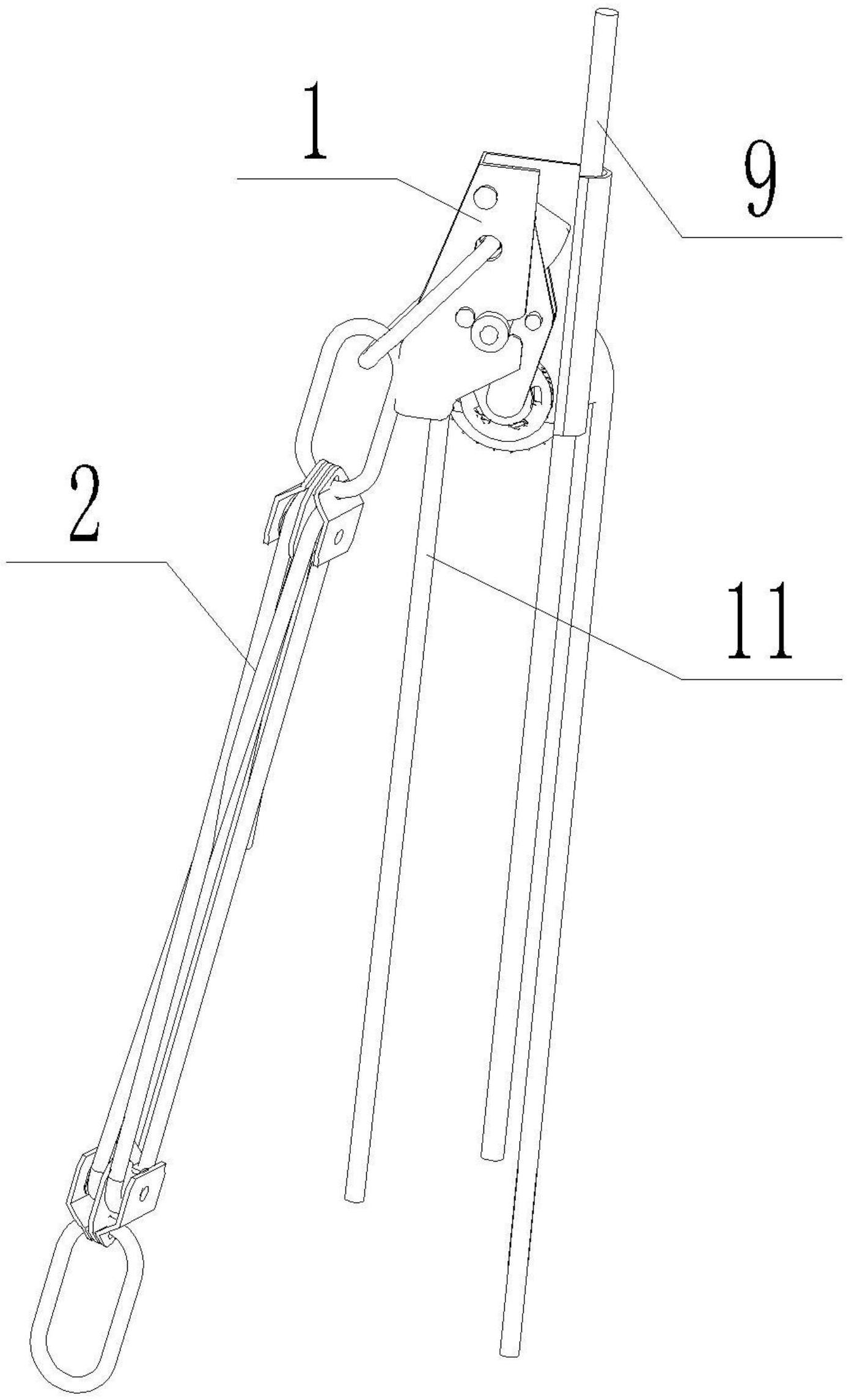
本实用新型公开了一种高空作业悬挂装置,包括上升器和滑轮组件,所述上升器包括外壳、拉绳锁、支架、第一转轮和第二转轮,所述外壳的一端折弯形成容置槽,所述容置槽内设有缆绳,所述拉绳锁的一端与外壳铰接,另一端可缆绳相接触,所述拉绳锁与外壳铰接的一端设有扭簧,所述扭簧的一端与拉绳锁固定连接,另一端与外壳固定连接,所述支架的一端与外壳铰接,另一端与第一转轮转动连接,所述支架和拉绳锁之间连接有同步锁,所述第二转轮上缠绕有第一拉绳,所述第一转轮和第二转轮同轴设置;所述滑轮组件设置于上升器上。本实用新型可将受力点从作业人员后背转移至胸前,减小安全带对腿部血管的压迫,预防悬吊创伤,能够及时等待救援。


