授权公布号:CN207332741U
一种多节绝缘伸缩梯
有效
申请
2017-09-13
申请公布
1970-01-01
授权
2018-05-08
预估到期
2027-09-13
| 申请号 | CN201721173322.1 |
| 申请日 | 2017-09-13 |
| 授权公布号 | CN207332741U |
| 授权公告日 | 2018-05-08 |
| 分类号 | E06C1/36;E06C7/46;E06C7/06;E06C7/08 |
| 分类 | 一般门、窗、百叶窗或卷辊遮帘;梯子; |
| 申请人名称 | 昆明飞翔材料技术有限公司 |
| 申请人地址 | 云南省昆明市晋宁县上蒜片区 |
专利法律状态
2018-05-08
授权
状态信息
授权
摘要
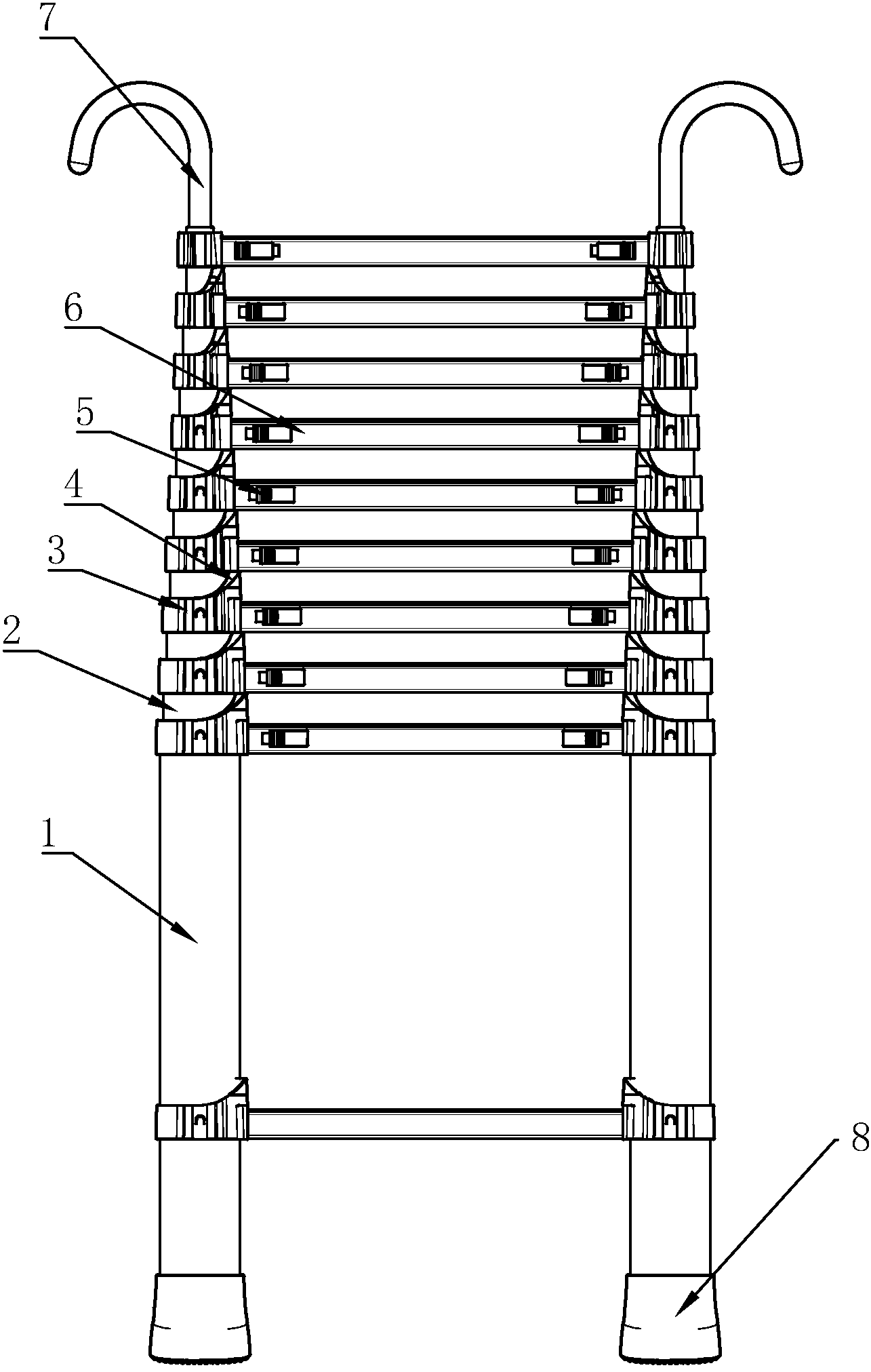
本实用新型一种多节绝缘伸缩梯,包括左、右两根立柱,立柱之间设有若干踏板,每根立柱由若干节空心伸缩杆套装而成,伸缩杆的管径由上往下依次递增,每根伸缩杆上均设有连接套,连接套包括一体成型的套环和连接件,套环安装在伸缩杆上,连接件位于套环的一侧,踏板的两端分别装在对应的连接件上并通过锁止机构固定,还包括将相邻连接套隔开的支撑件,支撑件插装在套环的上端。本实用新型要解决的技术问题是提供一种结构简单、携带方便、使用安全的多节绝缘伸缩梯。


