授权公布号:CN215469077U
一种具有安全保护结构的铝单板焊机
有效
申请
2021-08-05
申请公布
1970-01-01
授权
2022-01-11
预估到期
2031-08-05
| 申请号 | CN202121817432.3 |
| 申请日 | 2021-08-05 |
| 授权公布号 | CN215469077U |
| 授权公告日 | 2022-01-11 |
| 分类号 | B23K37/00;B23K37/04 |
| 分类 | 机床;不包含在其他类目中的金属加工; |
| 申请人名称 | 金筑铝业(天津)有限公司 |
| 申请人地址 | 天津市宁河区宁河现代产业区海航西路 |
专利法律状态
2022-01-11
授权
状态信息
授权
摘要
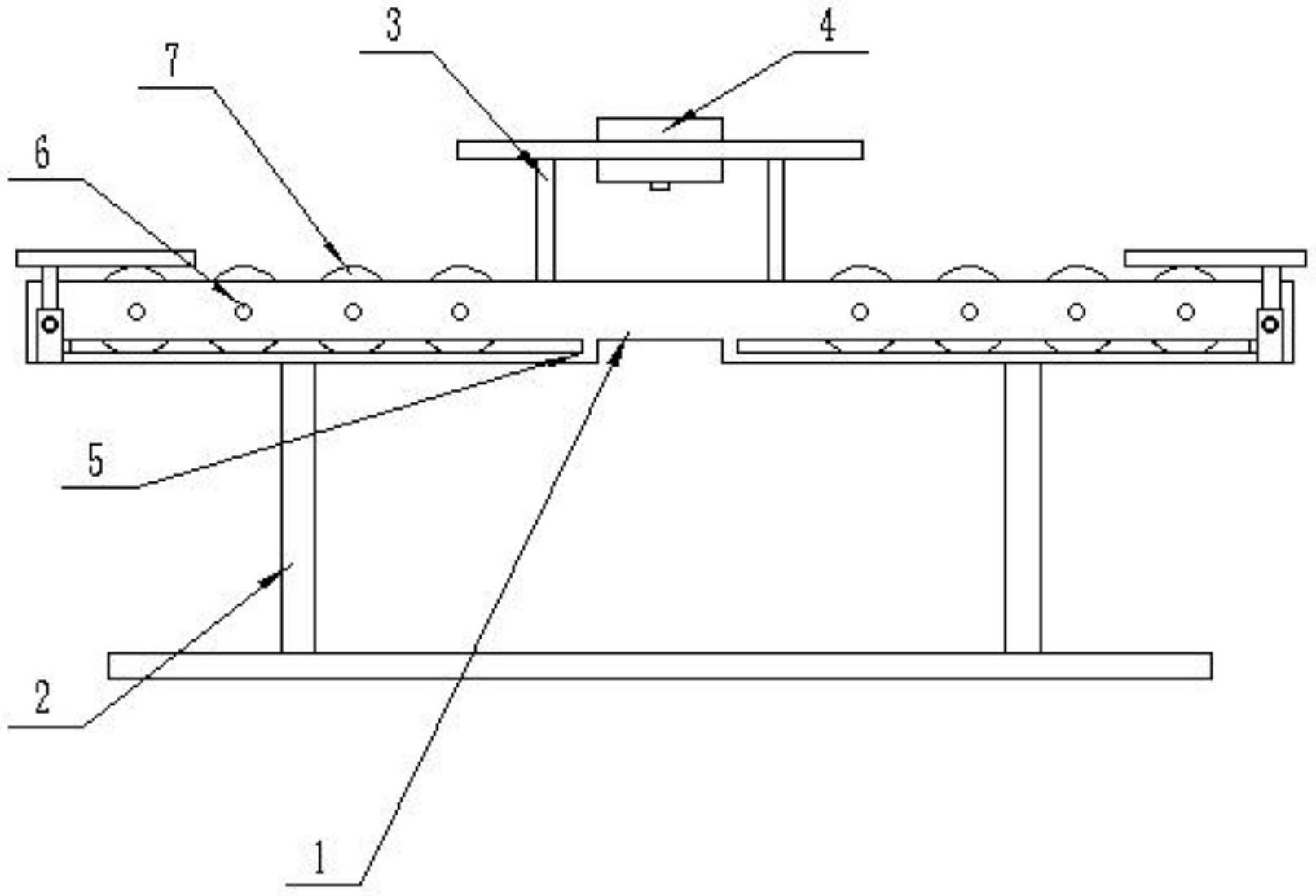
本实用新型公开了一种具有安全保护结构的铝单板焊机,包括加工台主体,所述加工台主体下端位置固定设置有支撑架,所述加工台主体上端中心位置焊接固定设置有固定框架,所述固定框架中心位置活动安装设置有焊接装置,所述加工台主体内侧端位置水平活动穿插设置有转轴,所述转轴外侧端位置环绕固定设置有固定辊。本实用新型使用时将铝单板安置在固定辊上端位置,同时位于限位板内侧端位置,然后沿着滑槽移动滑块,即可移动限位板,直到限位板接触铝单板外侧端位置,然后带动铝单板移动,并且利用转轴带动固定辊转动,利用滚动力降低铝单板与接触面的摩擦力,从而大大方便了铝单板的移动工作,同时利用橡胶垫防止铝单板与固定辊接触位置被刮花。


