授权公布号:CN220547342U
铝单板生产用清洗风干装置
有效
申请
2023-07-18
申请公布
1970-01-01
授权
2024-03-01
预估到期
2033-07-18
| 申请号 | CN202321889516.7 |
| 申请日 | 2023-07-18 |
| 授权公布号 | CN220547342U |
| 授权公告日 | 2024-03-01 |
| 分类号 | B08B3/02;B08B1/34;B08B1/20;B08B13/00;F26B21/00 |
| 分类 | 清洁; |
| 申请人名称 | 金筑铝业(天津)有限公司 |
| 申请人地址 | 天津市宁河区宁河现代产业区海航西路 |
专利法律状态
2024-03-01
授权
状态信息
授权
摘要
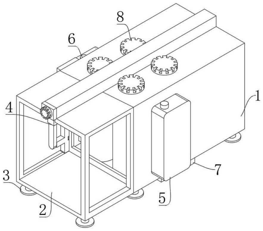
本实用新型涉及铝单板清洗风干技术领域,且公开了铝单板生产用清洗风干装置,包括清洗机外壳,所述清洗机外壳的外壁固定装配有单板放置固定槽,所述清洗机外壳的底部设有底部固定基座,所述清洗机外壳的顶部固定装配有铝单板固定器,所述铝单板固定器的内部设有内部转动柱,所述清洗机外壳的外壁固定装配有清洗存储罐,所述清洗存储罐的顶部固定装配有储存罐倒料槽,所述清洗机外壳的底部固定装配有底部积水槽,所述清洗机外壳的顶部固定装配有清洁电机,该铝单板生产用清洗风干装置,通过在设备上设置固定杆连接器使得设备能对铝单板进行固定控制,同引入设备相比,固定杆连接器能够对铝单板进行固定,方便了铝单板的移动。


