授权公布号:CN210099071U
一种铝单板高效切割装置
有效
申请
2019-04-30
申请公布
1970-01-01
授权
2020-02-21
预估到期
2029-04-30
| 申请号 | CN201920615217.1 |
| 申请日 | 2019-04-30 |
| 授权公布号 | CN210099071U |
| 授权公告日 | 2020-02-21 |
| 分类号 | B23D19/00;B23D33/02;B23D33/10 |
| 分类 | 机床;不包含在其他类目中的金属加工; |
| 申请人名称 | 金筑铝业(天津)有限公司 |
| 申请人地址 | 天津市宁河县宁河现代产业区海航西路 |
专利法律状态
2020-02-21
授权
状态信息
授权
摘要
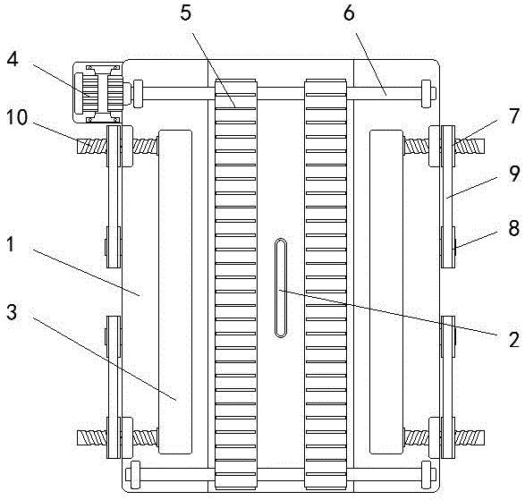
本实用新型公开了一种铝单板高效切割装置,包括工作台和切割刀,所述工作台的中心位置处转动连接有切割刀,所述工作台的水平端两侧均设置有卡槽,且卡槽的两端均通过螺杆与工作台传动连接,四个所述螺杆上均套接有第一齿轮盘。本实用新型中,通过伺服电机对第一齿轮盘进行转动,第一齿轮盘的内侧传动连接螺杆,使得螺杆在水平方向上进行位移,从而连动一端焊接的卡槽进行位移,位移的卡槽对铝板水平端两侧进行卡接,从而对铝板的水平端位置进行限制,使得在进行同一类型板材切割的过程中,不需要再次进行位置的对准,从而节省时间,提升切割效率。


