授权公布号:CN216262289U
一种幕墙铝单板生产加工用水洗装置
有效
申请
2021-11-02
申请公布
1970-01-01
授权
2022-04-12
预估到期
2031-11-02
| 申请号 | CN202122655363.7 |
| 申请日 | 2021-11-02 |
| 授权公布号 | CN216262289U |
| 授权公告日 | 2022-04-12 |
| 分类号 | B08B3/02;B08B1/02;B08B13/00;A61L2/18;F26B21/00 |
| 分类 | 清洁; |
| 申请人名称 | 金筑铝业(天津)有限公司 |
| 申请人地址 | 天津市宁河区宁河现代产业区海航西路 |
专利法律状态
2022-04-12
授权
状态信息
授权
摘要
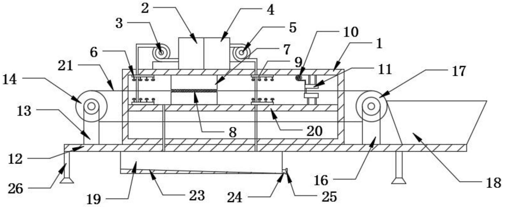
本实用新型公开了一种幕墙铝单板生产加工用水洗装置,包括主体框架,所述主体框架的上表面的一侧固定安装有混合液水箱,所述主体框架的上表面于混合液水箱的另一侧固定安装有第一水泵,所述混合液水箱与第一水泵的输入端通过水管固定连接,所述混合液水箱的另一侧固定安装有清洗水箱,所述清洗水箱通过水管固定连接有第二水泵,所述第二水泵固定安装在主体框架的上表面,所述主体框架的内部靠近第一水泵的一端固定安装有若干组第一喷头,所述主体框架的内部靠近第一喷头的一端固定安装有若干组毛刷底座,毛刷底座的表面固定安装有毛刷。本实用新型通水洗幕墙铝单板效果好,效率快,消毒、清洗和风干一体化,更加节约水资源,更加符合市场需求。


