授权公布号:CN212640220U
一种新型水解酸化池布水装置
有效
申请
2020-06-17
申请公布
1970-01-01
授权
2021-03-02
预估到期
2030-06-17
| 申请号 | CN202021120326.5 |
| 申请日 | 2020-06-17 |
| 授权公布号 | CN212640220U |
| 授权公告日 | 2021-03-02 |
| 分类号 | C02F9/14;C02F3/28 |
| 分类 | 水、废水、污水或污泥的处理; |
| 申请人名称 | 湖北金润德环保技术有限公司 |
| 申请人地址 | 湖北省武汉市东湖开发区软件园中路光谷软件园六期4幢3F |
专利法律状态
2021-03-02
授权
状态信息
授权
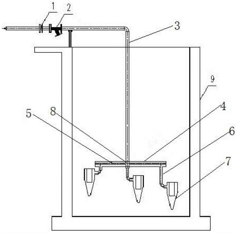
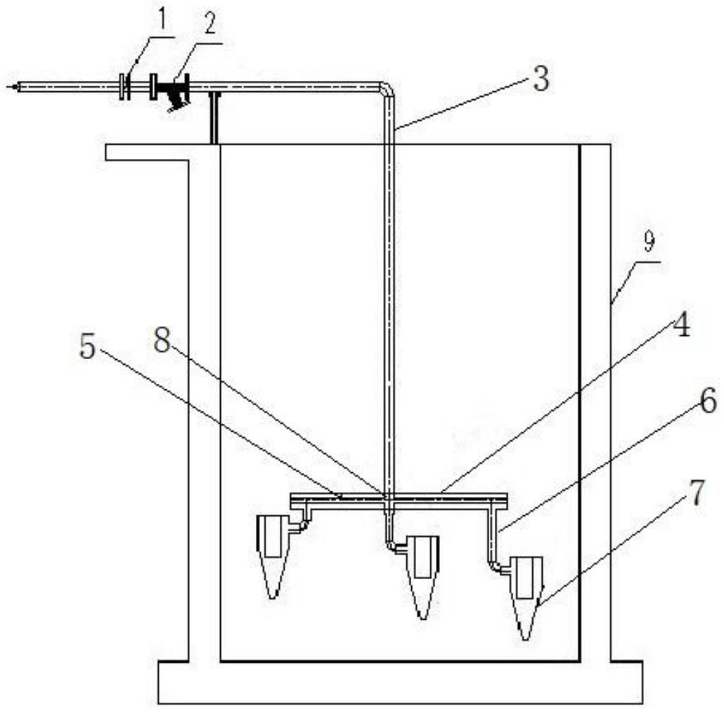
摘要
本实用新型公开了一种新型水解酸化池布水装置,包括池体,还包括布水器,布水器包括进水支管、配水环管、配水支管、出水管和出水旋流器,配水环管的环心设置有支管接头,支管接头通过多个配水支管与配水环管连通,进水支管的进水端与进水主管连通,进水支管的出水端与配水环管的环心的支管接头连通,进水支管上自进水支管进水端至进水支管出水端依次设置有进水阀和Y型过滤器,配水环管底部环向设置有多根出水管,出水管一端与配水环管连通,出水管另一端与出水旋流器连通。本实用新型成本低,安装简单,易于推广,维护方便易于检修。组合方便,可现场根据实际水量的大小采用1组或几组布水器来实现均匀布水。


