授权公布号:CN114259827B
一种气液分离装置
有效
申请
2021-12-22
申请公布
2022-04-01
授权
2023-06-27
预估到期
2041-12-22
| 申请号 | CN202111578574.3 |
| 申请日 | 2021-12-22 |
| 申请公布号 | CN114259827A |
| 申请公布日 | 2022-04-01 |
| 授权公布号 | CN114259827B |
| 授权公告日 | 2023-06-27 |
| 分类号 | B01D49/00 |
| 分类 | 一般的物理或化学的方法或装置; |
| 申请人名称 | 北京华源泰盟节能设备有限公司 |
| 申请人地址 | 北京市海淀区成府路28号优盛大厦C座10层 |
专利法律状态
2023-10-20
著录事项变更
状态信息
著录事项变更;IPC(主分类):B01D 49/00;专利申请号:2021115785743;变更事项:发明人;变更前:安航 常亮 徐小哲;变更后:安航 常亮 陈焕银 徐小哲
2023-06-27
授权
状态信息
授权
2022-05-17
实质审查的生效
状态信息
实质审查的生效;IPC(主分类):B01D49/00;申请日:20211222
2022-04-01
公布
状态信息
公布
摘要
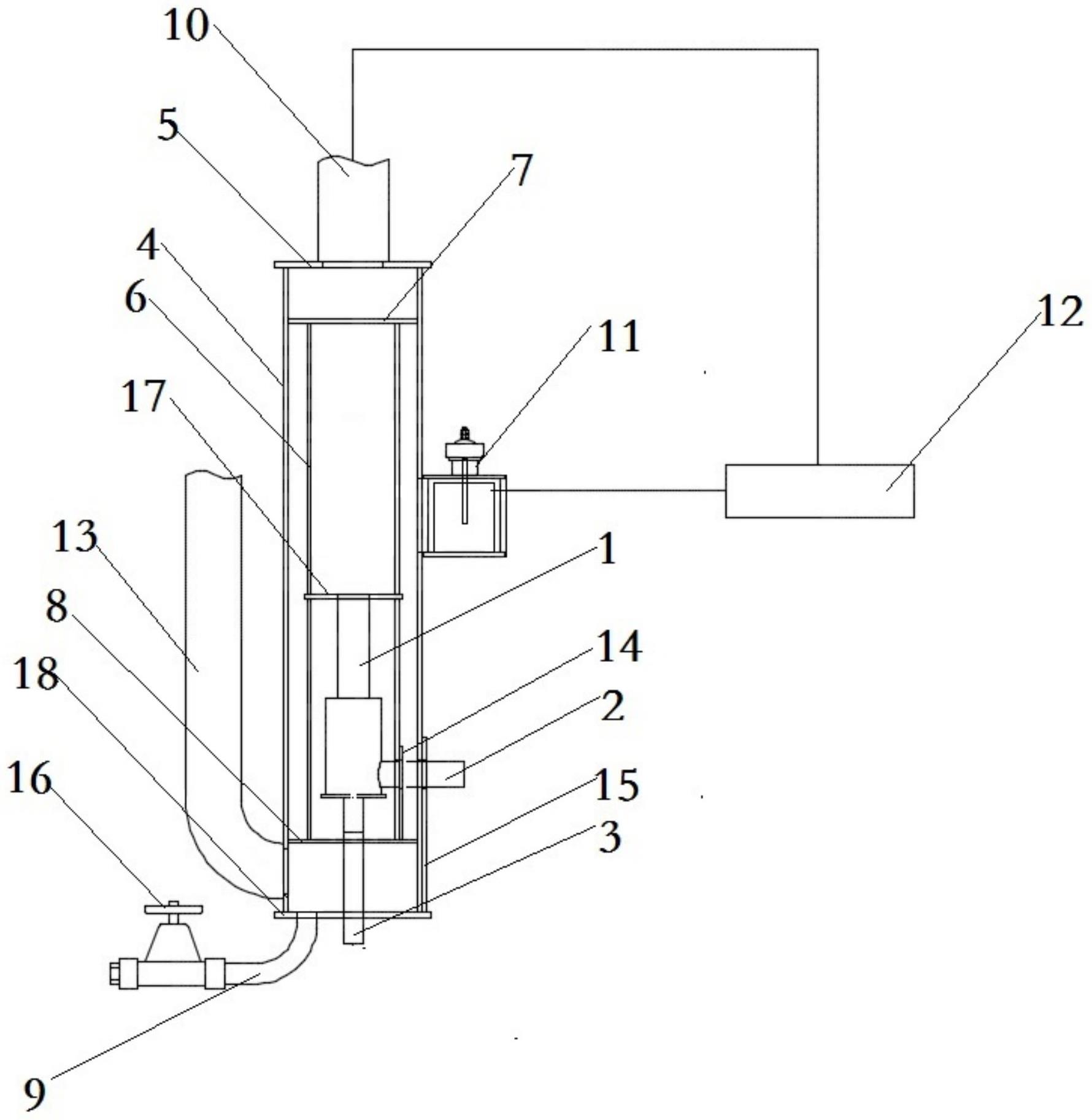
本发明涉及气液分离技术领域,尤其是涉及一种气液分离装置,包括外部套管机构、内部套管机构和引射器,内部套管机构固定设置在外部套管机构的内部,且内部套管机构的底部与外部套管机构连通;引射器固定设置在内部套管机构的内部;引射器的抽气接管与外部抽气管路连通,引射器的液体入口接管与外部供液装置连通。当抽气接管通过外部抽气管路抽取其他部件内部的气体时,气体和液体混合通过引射器口喷射实现气液分离,气体沿内部套管机构上升,通过外部套管机构排出,液体沿内部套管机构下降至外部套管机构中,填充空间变大,整个气液分离装置内液位上升缓慢,使气液分离更为彻底。因此,本发明的气液分离装置显著提高了气液分离效果。


