授权公布号:CN212212353U
一种鸡舍用便于清理的养殖架
有效
申请
2020-03-12
申请公布
1970-01-01
授权
2020-12-25
预估到期
2030-03-12
| 申请号 | CN202020300155.8 |
| 申请日 | 2020-03-12 |
| 授权公布号 | CN212212353U |
| 授权公告日 | 2020-12-25 |
| 分类号 | A01K31/00 |
| 分类 | 农业;林业;畜牧业;狩猎;诱捕;捕鱼; |
| 申请人名称 | 枣庄华宝牧业开发有限公司 |
| 申请人地址 | 山东省枣庄市山亭区经济开发区世纪大道路西、北京路北 |
专利法律状态
2020-12-25
授权
状态信息
授权
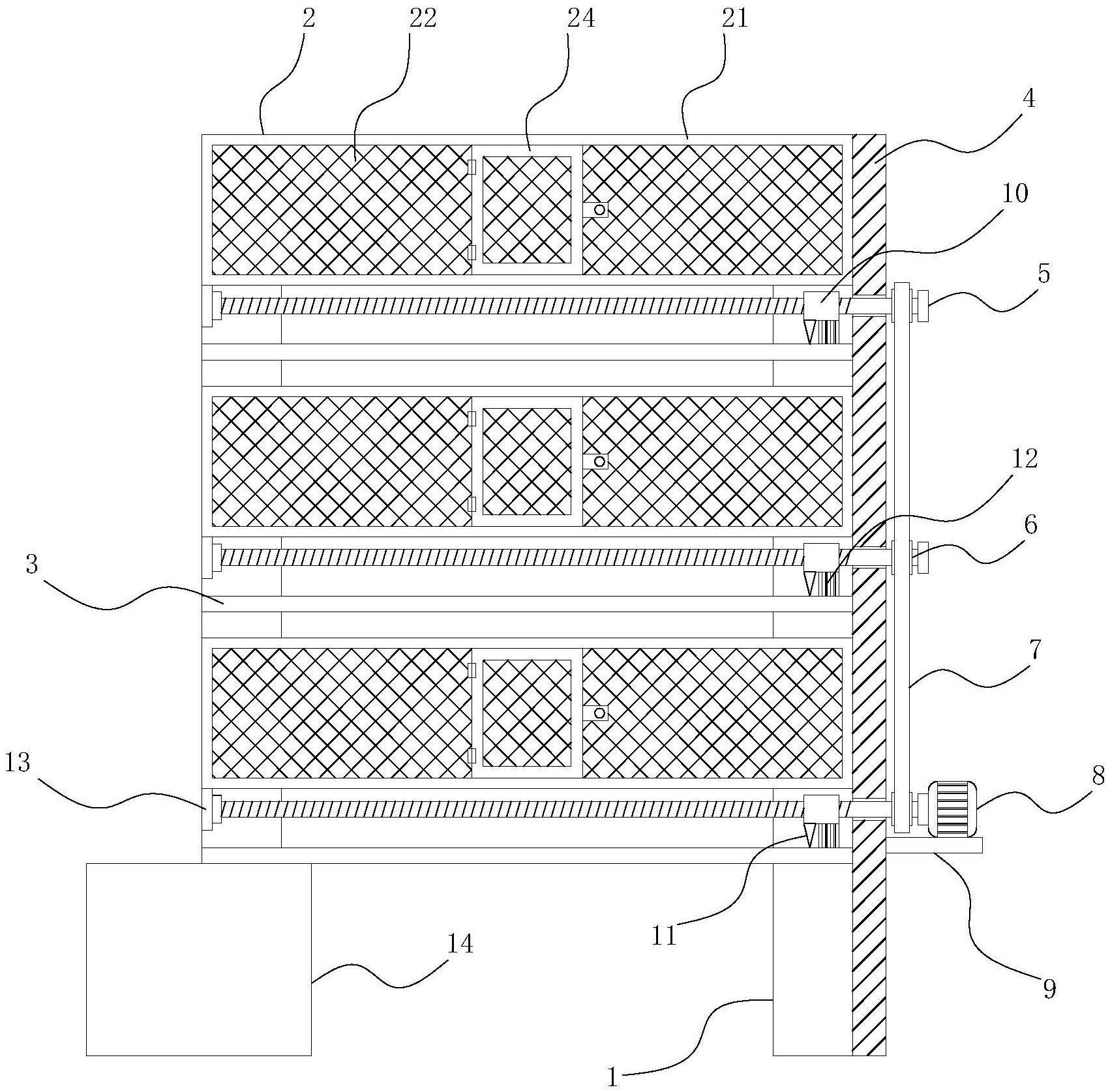
摘要
本实用新型涉及畜牧业技术领域,尤其是一种鸡舍用便于清理的养殖架,包括支撑柱,支撑柱两两对称设置,支撑柱之间焊接有鸡笼,支撑柱之间位于鸡笼的下方均焊接有垃圾收集板,鸡笼的一侧焊接有支撑板,支撑板的中部均匀贯穿有丝杆,丝杆位于支撑板外侧的一端均套接有齿轮,齿轮之间安装有齿条,支撑板最下方的一个丝杆的端部通过轴承连接有电机,丝杆位于支撑板内侧的一端的外表面套接有滑板,滑板的底端一侧焊接有刮板,滑板底端的另一侧焊接有毛刷。本实用新型便于清理养殖架上的垃圾,从而节省了清理养殖架的时间,减轻了工作人员的劳动强度。


