授权公布号:CN212279679U
一种带污水清理效果的家禽宰杀台
有效
申请
2020-05-13
申请公布
1970-01-01
授权
2021-01-05
预估到期
2030-05-13
| 申请号 | CN202020797790.1 |
| 申请日 | 2020-05-13 |
| 授权公布号 | CN212279679U |
| 授权公告日 | 2021-01-05 |
| 分类号 | A22B3/08;C02F9/04 |
| 分类 | 屠宰;肉品处理;家禽或鱼的加工; |
| 申请人名称 | 枣庄华宝牧业开发有限公司 |
| 申请人地址 | 山东省枣庄市山亭区经济开发区世纪大道路西、北京路北 |
专利法律状态
2021-01-05
授权
状态信息
授权
摘要
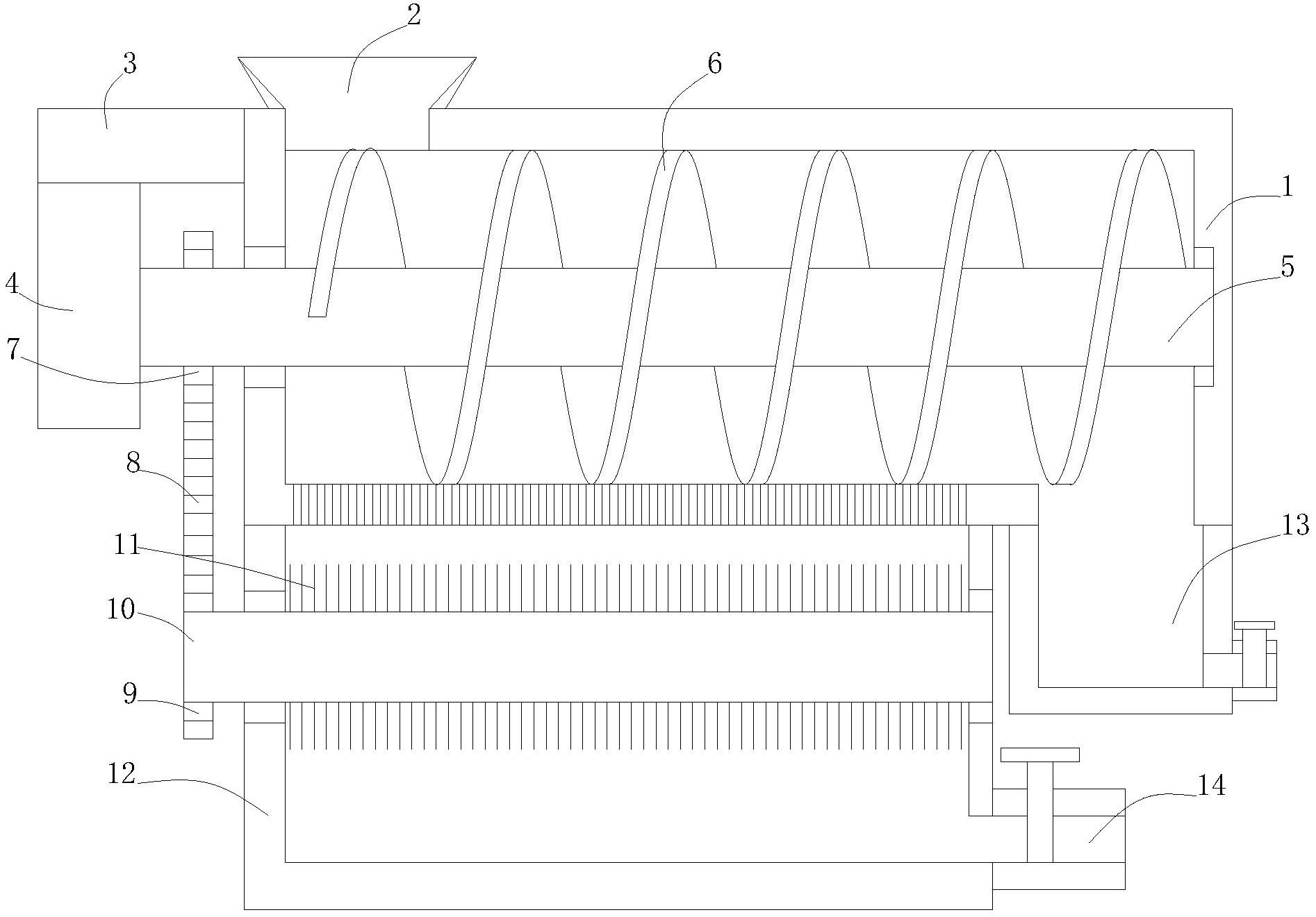
本实用新型涉及污水清理技术领域,公开了一种带污水清理效果的家禽宰杀台,包括分离箱,卷毛杆的外表面两侧通过轴承贯穿除毛净化箱的左右两侧并和除毛净化箱活动连接,吸毛架的外表面上下端贯穿除毛净化箱的前端开设的槽口并和除毛净化箱固定连接,吸毛架的前端和吸毛管的后端开设的槽口固定连接。本实用新型通过将二次污水穿过旋转的粘毛刷,再用带动滤毛刷的卷毛杆对粘毛刷表面的毛发进行清理,再通过吸气泵连接吸毛管将卷毛杆上的毛发吸收并集中到过滤袋中处理,三次污水流到除毛净化箱底部处理安全合格后排出,达到防止污水中的家禽毛发堵塞管道的效果,达到防止毛发长时间浸泡在污水中滋生细菌污染水源的效果。


