授权公布号:CN219836732U
一种用于人造草坪涂胶装置
有效
申请
2023-04-23
申请公布
1970-01-01
授权
2023-10-17
预估到期
2033-04-23
| 申请号 | CN202320935009.6 |
| 申请日 | 2023-04-23 |
| 授权公布号 | CN219836732U |
| 授权公告日 | 2023-10-17 |
| 分类号 | B05C5/02;B05C11/02;B05C11/10;B05C1/08;B08B1/00 |
| 分类 | 一般喷射或雾化;对表面涂覆液体或其他流体的一般方法〔2〕; |
| 申请人名称 | 青岛国恩体育草坪有限公司 |
| 申请人地址 | 山东省青岛市城阳区裕园三路31号 |
专利法律状态
2023-10-17
授权
状态信息
授权
摘要
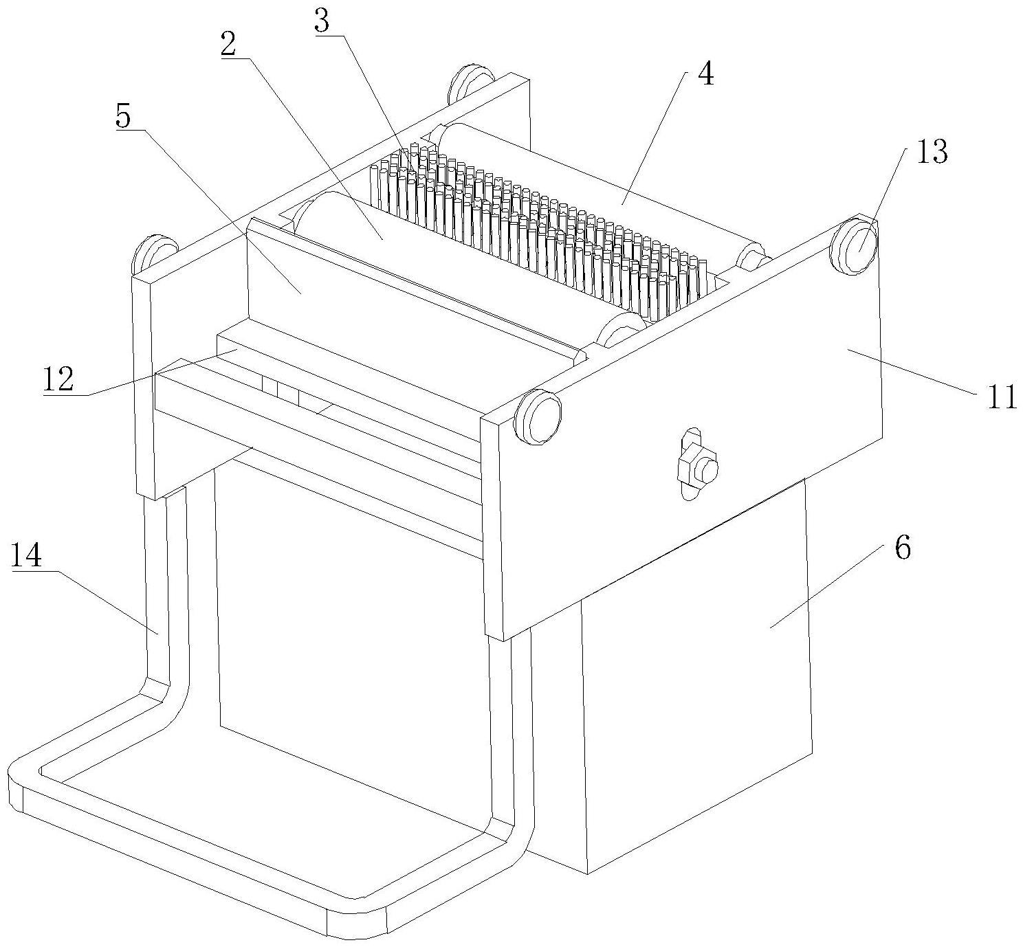
本实用新型涉及一种用于人造草坪涂胶装置,属于人造草坪施工技术领域,其技术方案的要点是包括安装架以及转动连接在安装架上的涂刷辊,所述安装架包括架体以及水平设置在架体上的底盘,所述涂刷辊安装于底盘下部;所述涂刷辊的一侧设置有胶刷,所述胶刷包括刷体以及固定在刷体底部的刷毛;所述刷体的内部开设有胶腔,所述刷体的底部固定有若干个与胶腔相连通的出胶管;本实用新型对人造草坪的涂胶效果更加均匀良好。


