授权公布号:CN217463033U
一种固液复合阻尼隔振器
有效
申请
2022-04-13
申请公布
1970-01-01
授权
2022-09-20
预估到期
2032-04-13
| 申请号 | CN202220845870.9 |
| 申请日 | 2022-04-13 |
| 授权公布号 | CN217463033U |
| 授权公告日 | 2022-09-20 |
| 分类号 | F16F13/00 |
| 分类 | 工程元件或部件;为产生和保持机器或设备的有效运行的一般措施;一般绝热; |
| 申请人名称 | 北京九州一轨环境科技股份有限公司 |
| 申请人地址 | 北京市丰台区育仁南路3号院 |
专利法律状态
2022-09-20
授权
状态信息
授权
摘要
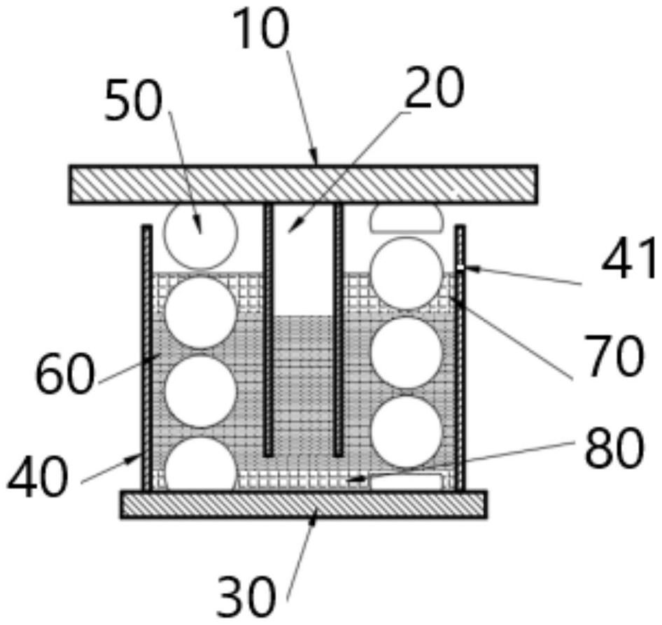
本实用新型公开了一种固液复合阻尼隔振器,包括:顶板(10)、内阻尼筒(20)、底板(30)、外阻尼筒(40)、钢弹簧(50)、液体阻尼(60)以及顶层固体阻尼(70);其中,内阻尼筒(20)固定在顶板(10)的下表面上,外阻尼筒(40)固定在底板(30)的上表面上;内阻尼筒(20)套设在外阻尼筒(40)之中,液体阻尼(60)设置在内阻尼筒(20)和外阻尼筒(40)内部;钢弹簧(50)设置在内阻尼筒(20)与外阻尼筒(40)之间的空间中,顶端抵靠顶板(10)的下表面,底端抵靠底板(30)的上表面;以及顶层固体阻尼(70)设置在内阻尼筒(20)与外阻尼筒(40)之间的空间中的液体阻尼(60)上表面上。


